QQ登录

只需一步,快速开始

登录 | 注册 | 找回密码

三维网

 找回密码
 注册

QQ登录

只需一步,快速开始

展开

通知     

查看: 3123|回复: 22
收起左侧

[求助] 塔机液压顶升同步问题

[复制链接]
发表于 2009-10-16 11:23:01 | 显示全部楼层 |阅读模式 来自: 中国江苏南京

马上注册,结识高手,享用更多资源,轻松玩转三维网社区。

您需要 登录 才可以下载或查看,没有帐号?注册

x
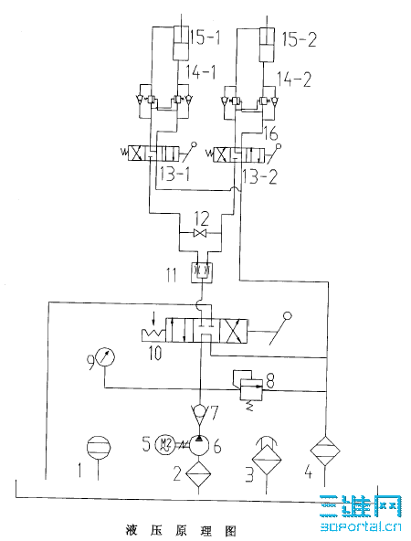
20091016110948281.png 7 F& e/ g) L+ S* ^* W6 p
& U8 f6 Q: O3 ^
     代号   名称数 量
1YVZ-300T油位油温计1
2WU160×80-J吸油滤油器1
3EF3-40空气滤清器1
4RFA-100×20回油滤油器1
5Y180M-4 B5电机18.5kW(立式)1
625MCY14-1B轴向柱塞泵1
7S10A12.OB单向阀1
8DB10-1-30/31.5溢油阀1
9YN-60(0-40MPa)压力表1
104WMM10G30BF三位四通手动换向阀1
11ZSTF2-B10-50分流集流阀1
12QJH-10B高压截止阀1
134WMM10J30B三位四通手动换向阀2
1408.44.11-03-03-35双向平衡阀2
15φ250×φ180×2200顶升油缸2
1613Ⅱ6500KH 35MPa高压软管(M22×1.5接头)4
技术参数:
额定工作压力:25MPa
最高工作压力:28MPa
流量:36.5L/min
系统功率:18.5kW

" J" q# z" B) \; |% F, `这套系统是用在塔机的顶升系统中(下顶升方式),问题是两只液压缸产生不同步(由于制造精度的原因)。& ~" H8 q  r% N* @5 u
1、是否能取消分流集流阀(图示中11)?这张原理图有什么缺陷吗?
: o8 {: C8 t* U1 }! w2、在不采用电液比例控制系统的情况下(造价太高),有什么更好的改进措施吗?
& g7 T. l* t/ {# `, {2 G
  l  @8 y4 w' s1 z' M$ r[ 本帖最后由 wuql2006 于 2009-10-16 12:55 编辑 ]
发表于 2009-10-16 11:59:07 | 显示全部楼层 来自: 中国江苏徐州
我也来学习一下,大家踊跃交流 阿
发表于 2009-10-16 13:53:34 | 显示全部楼层 来自: 中国辽宁本溪
可以将高压球阀12开启一点点试试。+ ^: L# {, m# W- J0 V6 y9 K$ P
以便使高负载支路的流量有一小部分经阀12流入低负载支路。
$ g: B" s# A) w8 y; A% U不过要慎重啊!!
发表于 2009-10-16 16:56:50 | 显示全部楼层 来自: 中国河北秦皇岛
13-1和13-2一定要吗?不可以取消?
发表于 2009-10-16 17:11:13 | 显示全部楼层 来自: 中国广东深圳
13-1和13-2应该是要求油缸单独工作时使用吧.
 楼主| 发表于 2009-10-16 22:28:42 | 显示全部楼层 来自: 中国江苏南京
高压阀12开启、关闭,都一样,无效。, C% O5 E* l: U% U& s5 B
13-1、13-2是可以单独工作的,现全部推上或拉下,还是一样。) y9 U% L1 F( }! {* L
现想取消分流集流阀11,不知能否?
发表于 2009-10-16 23:25:03 | 显示全部楼层 来自: 中国河南安阳
这个系统搞得复杂了些。+ _" ^8 N( \2 W. ~4 T6 p
个人认为一个手动换向阀就可以了。由于两个手动换向阀存在着操作上的误差,同步精度很难保证。
! x8 H, `5 H# M) ^$ M2 o5 L: X$ Q7 G1 E, M9 I, Q$ K
建议:保留分流集流阀,去掉两个手动换向阀。
发表于 2009-10-17 09:30:30 | 显示全部楼层 来自: 中国北京
能搞机械 同步就机械同步 不然各个之路加个节流调速  根据你的工况调节
发表于 2009-10-17 10:26:42 | 显示全部楼层 来自: 中国辽宁本溪
原帖由 wuql2006 于 2009-10-16 22:28 发表 http://www.3dportal.cn/discuz/images/common/back.gif- V/ Q! M8 e6 h) \) {5 e2 I
高压阀12开启、关闭,都一样,无效。- C' X( P6 U2 i( a- O
13-1、13-2是可以单独工作的,现全部推上或拉下,还是一样。
* Y) [3 c9 z. h, f) n( l: }8 s现想取消分流集流阀11,不知能否?
$ I' _) E1 Q. t
: M$ F. g( i6 n
楼主好!
/ Y7 |* v/ q" a. W       阀12开启和关闭都一样,那你的分流集流阀根本没起作用。! B2 p% Q4 ^3 x' p0 C) T8 z) U
       我在上面所讲,用阀12小开口代替校正节流阀,并不是我的主观臆想,我是从资料上看到的。(好象是《液压与气动》杂志)。
发表于 2009-10-17 22:50:31 | 显示全部楼层 来自: 中国内蒙古呼和浩特
同意7楼观点,两个手动换向阀很难控制同步,分流阀建议留下,至于9楼所言我还属首次听说,不知道校正过程如何,效果怎样?
发表于 2009-10-18 13:18:02 | 显示全部楼层 来自: 中国湖南娄底
用同步马达可以解决。
发表于 2009-10-18 17:41:41 | 显示全部楼层 来自: 中国贵州毕节
我也同意七楼观点,两个手动阀控制同步本身就有人为操作因素的影响。
发表于 2009-10-18 20:21:50 | 显示全部楼层 来自: 中国江苏镇江
关键是两个缸有单独工作的时候,所以说手动换向阀不能去。同步嘛!我觉得还是用同步马达吧。
发表于 2009-10-18 20:29:50 | 显示全部楼层 来自: 中国江苏南通
如果你的同步要求不是很高泥可以使用同步缸来实现同步再在各个支路上加个无泄漏的球阀来在底部调整同步
发表于 2009-10-20 07:08:36 | 显示全部楼层 来自: 中国广东佛山
各位讨论很有理,我来参与学习。11楼提到同步马达,我不知到有没有用在液压系统的同步马达?还是他在扯淡。
发表于 2009-10-20 16:47:03 | 显示全部楼层 来自: 中国江苏南京
建议元件11、12、13-1和13-2取消。在顶升作业前调整好平衡力矩,在负载基本稳定的情况下,两支油缸的同步不成问题。双向平衡阀14-1与14-2也取消一只,把保留的那,安装在换向阀后的双缸共同回路中,在两支油缸无杆腔的出口最好增加两只管路防暴阀以增加安全性。因为两只双向平衡阀的控制压力无法保证完全一致,在空中悬停后或二次作业时存在事故隐患。  g& [7 s) @0 G
手动换向阀可选用阀芯带比例槽的,这种阀有较好的比例特性,应能满足顶升作业的工况要求。
发表于 2009-10-20 22:32:36 | 显示全部楼层 来自: 中国广东广州
原帖由 DCP3ZK 于 2009-10-20 07:08 发表 http://www.3dportal.cn/discuz/images/common/back.gif
+ c6 V& O9 G/ i) k1 t2 @各位讨论很有理,我来参与学习。11楼提到同步马达,我不知到有没有用在液压系统的同步马达?还是他在扯淡。
: |% W, Q- a. i  ]$ G5 r9 C. ~/ P9 y
( G/ G1 c9 U# z3 T; r3 F- S
我们公司用过不少
& Z8 I+ b& `: K我所在公司主要是用同步泵- W! C4 g* w( j, G  D
同步马达也一样3 \3 x! O. Y: O: Y* `; d% g% L) B
使用时相当闭式液压系统,所以要注意设置补油装置, [# Z4 Z+ W) ]) ]" f+ ~- r# Y3 |
2 {. u7 t$ q4 E0 P* P0 m
汗,这个系统3个手控阀,操作上很不容易,能在操作10次有1次同步那已经高水平的了1 ], h# ^1 e+ d. k
2 F$ N- p% e6 |# V. u0 v
不知道为什么不能上传图片?
3 Y7 e& M! \5 F
" S3 G! R: E0 s- W4 J4 g/ r( v[ 本帖最后由 0-dream 于 2009-10-20 22:46 编辑 ]
发表于 2009-10-21 16:12:33 | 显示全部楼层 来自: 中国上海
原帖由 DCP3ZK 于 2009-10-20 07:08 发表 http://www.3dportal.cn/discuz/images/common/back.gif2 o2 o& f& \, E: m  E& p2 A
各位讨论很有理,我来参与学习。11楼提到同步马达,我不知到有没有用在液压系统的同步马达?还是他在扯淡。
, b% f' o3 R, R

1 h: O7 ?* Q/ ^1 K本来我不想回复的!因为大家已经基本想出问题所在!
$ T; u8 m. t2 h, ?* ]5 V- N6 M  _; |- S7 H
同步马达有这个东西!请该楼的注意: v( w. G# E6 W" N
4 x0 P# l. {1 O5 p
液压同步马达有多种形式:齿轮式,柱塞式等等- s) y. j  D9 r" j+ C, m) k- k
8 E/ c1 r) E" W5 S9 @$ e0 K. Y1 X& l
还有其他方式能做到同步:机械同步,分流集流阀,同步马达,同步缸,伺服控制.............
发表于 2009-10-29 10:07:25 | 显示全部楼层 来自: 中国辽宁鞍山
用调速阀调节两液压缸的进出流量, a* I8 V# b9 N4 i8 ^. w
可以做到同步
发表于 2009-10-29 16:58:53 | 显示全部楼层 来自: 中国四川成都
实际中有13-1和13-2吗?有这两个存在那油缸速度完全就是靠人为操作来控制的了。是这样的吗?
 楼主| 发表于 2009-12-23 18:43:51 | 显示全部楼层 来自: 中国江苏南京
这是个真实的案例,现已解决,明天将改造后的图帖出。
发表于 2009-12-23 20:08:20 | 显示全部楼层 来自: 中国广东佛山
可以用两个10SCY泵。。两套控制阀控制。这样可以做到流量《速度》,压力《负载》可调,就是成本高一点
发表于 2009-12-23 20:19:51 | 显示全部楼层 来自: 中国上海
你已经解决了,那就让大家看看你如何解决的。我认为这个系统同步精度要求不会太高,不然不会用手动控制来做,既然这样用同步马达也没有什么意义。我的想法就是这个系统应该是两个人或三个人同时操作的,可以考虑取消那个分流阀,加上节流阀在动作过程中可以不断调整。
发表回复
您需要登录后才可以回帖 登录 | 注册

本版积分规则


Licensed Copyright © 2016-2020 http://www.3dportal.cn/ All Rights Reserved 京 ICP备13008828号

小黑屋|手机版|Archiver|三维网 ( 京ICP备2023026364号-1 )

快速回复 返回顶部 返回列表