QQ登录

只需一步,快速开始

登录 | 注册 | 找回密码

三维网

 找回密码
 注册

QQ登录

只需一步,快速开始

展开

通知     

查看: 2445|回复: 12
收起左侧

[已解决] 立车工装设计

[复制链接]
发表于 2009-1-4 19:45:22 | 显示全部楼层 |阅读模式 来自: 中国江苏苏州

马上注册,结识高手,享用更多资源,轻松玩转三维网社区。

您需要 登录 才可以下载或查看,没有帐号?注册

x
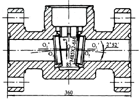
用在立车上的一个工装,与分度盘相识,能以中心线准确旋转180度,关键是180度,分度精度线形和重复定位要求高.此工装适合加工大的盘类零件.& l6 F/ M8 I# o) D1 A8 F4 j1 b
如何设计?请高手赐教,最好能做个示意图,谢谢!
发表于 2009-1-4 20:25:54 | 显示全部楼层 来自: 中国湖北
先发一张图看看
发表于 2009-1-6 10:55:57 | 显示全部楼层 来自: 中国江苏常州
最好你先把图纸传上来,我们才可以帮你想办法呀!
 楼主| 发表于 2009-1-6 19:43:35 | 显示全部楼层 来自: 中国江苏苏州
就是设计一个工装能加工此阀体的密封面.一次装夹完成.
0 P* E$ d! u; t) a. n/ j加工一端密封面后,工装旋转180度(工装放在斜楔上)加工另一面.
5 u; N; m- |: T( n
3 o. g- V/ H3 k, d% _) M有人会没?
1.gif
 楼主| 发表于 2009-1-12 19:39:35 | 显示全部楼层 来自: 中国江苏苏州
有  高  手  没?
头像被屏蔽
发表于 2009-1-13 12:09:48 | 显示全部楼层 来自: 中国辽宁营口
提示: 作者被禁止或删除 内容自动屏蔽
 楼主| 发表于 2009-1-19 19:39:57 | 显示全部楼层 来自: 中国江苏苏州

回复 6# 扫街 的帖子

根据你的三维图,那做另一面的话不是要调头做.* S0 W6 C8 z7 c1 x8 X8 @

) `! `. o$ s. U) V$ s+ s- @# I我要的工装是要能旋转180度,关键是180度要很准确.
头像被屏蔽
发表于 2009-1-20 14:36:22 | 显示全部楼层 来自: 中国辽宁营口
提示: 作者被禁止或删除 内容自动屏蔽
发表于 2009-1-20 16:24:26 | 显示全部楼层 来自: 中国江苏南京
按你那标的360的尺寸比例来看  这个东西也不大/ X; X' Y( ?! _% p
干嘛一定要上立车?还一定要一次装夹加工完成?
$ c2 i) Y6 S, o6 n( N$ A  e6 V2 x) l可以用内孔两次定位装夹掉头完成啊
  D8 F* |0 X3 {( s( B) Q$ z不能两次定位装夹的话,考虑用带旋转工作台的卧式镗床或卧加
  v/ Z6 G& E) V: p" m& V  H镗成或者铣成 位置精度就看你设备的旋转分度精度了' K- g& l4 T. \) g- }
做专用夹具多费事啊
发表于 2009-1-20 16:26:59 | 显示全部楼层 来自: 中国江苏南京
按你那标的360的尺寸比例来看  这个东西也不大
7 \8 N% c; @4 e/ R干嘛一定要上立车?还一定要一次装夹加工完成?
) B/ W1 e' B; l可以用内孔两次定位装夹掉头完成啊
$ n. ]" F* ^' y+ a不能两次定位装夹的话,考虑用带旋转工作台的卧式镗床或卧加% [* C8 h& Q% h2 Q# J
镗成或者铣成 位置精度就看你设备的旋转分度精度了
% L" G8 l9 {: w4 E0 A% w0 h7 ]* K" i做专用夹具多费事啊
发表于 2009-1-20 16:29:00 | 显示全部楼层 来自: 中国江苏南京
不小心上面发重了 # L# U$ m- S) z6 H7 {' e
8楼的好像有点问题  180度的分度怎么做的准确方便呢
头像被屏蔽
发表于 2009-1-20 17:34:57 | 显示全部楼层 来自: 中国辽宁营口
提示: 作者被禁止或删除 内容自动屏蔽
 楼主| 发表于 2009-1-20 22:00:07 | 显示全部楼层 来自: 中国江苏苏州
http://www.famens.com/html/2006/7-4/F16583367626.htm6 B# {# m/ d$ w! C; V
看了这个你们就明白了
发表回复
您需要登录后才可以回帖 登录 | 注册

本版积分规则


Licensed Copyright © 2016-2020 http://www.3dportal.cn/ All Rights Reserved 京 ICP备13008828号

小黑屋|手机版|Archiver|三维网 ( 京ICP备2023026364号-1 )

快速回复 返回顶部 返回列表