QQ登录

只需一步,快速开始

登录 | 注册 | 找回密码

三维网

 找回密码
 注册

QQ登录

只需一步,快速开始

展开

通知     

全站
8天前
查看: 1813|回复: 3
收起左侧

[求助] 这样的双头螺柱的国家标准是什么?

[复制链接]
发表于 2010-11-10 13:52:32 | 显示全部楼层 |阅读模式 来自: 中国浙江台州

马上注册,结识高手,享用更多资源,轻松玩转三维网社区。

您需要 登录 才可以下载或查看,没有帐号?注册

x
本帖最后由 sure16949 于 2010-11-10 13:54 编辑 5 E7 T( W4 ?, W  |( [! _! ~* @
  P2 p' y# a9 v% w, m, m
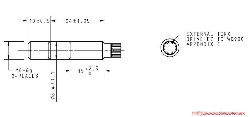
谁知道这样一种双头螺柱的国家标准是什么,哪里有卖的?先谢谢了。
, Q# U7 ^% d4 b: @+ u- F    双头螺柱.jpg
发表于 2010-11-10 15:26:09 | 显示全部楼层 来自: 中国四川成都
这种是非标件吧,我也没见过,学习了。
发表于 2010-11-10 16:05:09 | 显示全部楼层 来自: 中国湖南株洲
没有类似标准吧
发表于 2010-11-10 16:17:02 | 显示全部楼层 来自: 中国山西晋中
在我国标准中无这样的螺柱,要加工也不复杂,除两处M8螺纹部分外,再在一端铣六个圆弧槽就成了。如果批量大,端部的槽可先锻压成形。
发表回复
您需要登录后才可以回帖 登录 | 注册

本版积分规则


Licensed Copyright © 2016-2020 http://www.3dportal.cn/ All Rights Reserved 京 ICP备13008828号

小黑屋|手机版|Archiver|三维网 ( 京ICP备2023026364号-1 )

快速回复 返回顶部 返回列表