QQ登录

只需一步,快速开始

登录 | 注册 | 找回密码

三维网

 找回密码
 注册

QQ登录

只需一步,快速开始

展开

通知     

全站
7天前
查看: 5547|回复: 3
收起左侧

[求助] 请问:油锯的结构

[复制链接]
发表于 2010-3-28 11:12:19 | 显示全部楼层 |阅读模式 来自: 中国上海

马上注册,结识高手,享用更多资源,轻松玩转三维网社区。

您需要 登录 才可以下载或查看,没有帐号?注册

x
请问:油锯的结构和工作原理,以及油锯的型号的意义
发表于 2010-3-28 18:10:18 | 显示全部楼层 来自: 中国辽宁沈阳
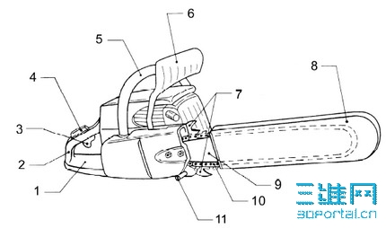
油锯是以汽油机为动力、锯链为切削部件的手持式木材切削机械。广泛应用于林业生产中的伐木、打枝、造材等作业。
; O  }- I: P  x 油锯外形结构.jpg ! l7 L2 p# V- Y
油锯外形结构2.jpg , y( [2 T, c+ W* Q4 G+ _
再给你个油锯结构视频展示的链接:http://www.56.com/u39/v_NDMzOTEyNDQ.html

评分

参与人数 1三维币 +3 收起 理由
虎强 + 3 应助

查看全部评分

发表于 2010-3-29 15:26:52 | 显示全部楼层 来自: 中国山西太原
油锯的结构及原理请看一下如下链接中的动画就一目了然了。
" `" ~7 R+ x# g4 @1 E/ U$ ohttp://www.56.com/u39/v_NDMzOTEyNDQ.html

评分

参与人数 1三维币 +2 收起 理由
虎强 + 2 应助

查看全部评分

发表于 2011-4-12 09:17:06 | 显示全部楼层 来自: 中国上海
本帖最后由 baoqh 于 2011-4-12 09:19 编辑 ! J1 h2 r% ?$ ^4 a

% G  ~5 ^( ^7 m! x$ [1 C国内最普遍的油锯是小松款,一般有3800,4500,5200,6200等,3800代表油锯发动机排量是38CC,4500也就是45CC。我开发过几种型号的油锯,有什么技术问题可以问我。$ \6 B6 {+ M* T5 B# I3 F
油锯一般由发动机,进排气系统,刹车系统,启动系统,润滑系统,燃油供给系统,链条导板几大块组成

评分

参与人数 1三维币 +2 收起 理由
虎强 + 2 技术讨论

查看全部评分

发表回复
您需要登录后才可以回帖 登录 | 注册

本版积分规则


Licensed Copyright © 2016-2020 http://www.3dportal.cn/ All Rights Reserved 京 ICP备13008828号

小黑屋|手机版|Archiver|三维网 ( 京ICP备2023026364号-1 )

快速回复 返回顶部 返回列表