QQ登录

只需一步,快速开始

登录 | 注册 | 找回密码

三维网

 找回密码
 注册

QQ登录

只需一步,快速开始

展开

通知     

查看: 1944|回复: 9
收起左侧

[已答复] 请教大家这样的机构冲压是否可以实现

[复制链接]
发表于 2010-2-1 18:19:16 | 显示全部楼层 |阅读模式 来自: 中国浙江杭州

马上注册,结识高手,享用更多资源,轻松玩转三维网社区。

您需要 登录 才可以下载或查看,没有帐号?注册

x
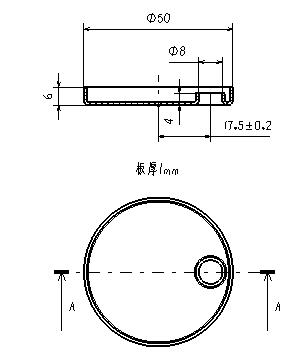
如下图,请教大家这样的机构冲压是否可以方便地实现?请高手解释一下,谢谢了!
111.JPG
发表于 2010-2-1 21:08:02 | 显示全部楼层 来自: 中国辽宁大连
利用级进模(也称连续模) 在毛坯的送进方向上,具有两个或更多的工位,在压力机的一次行程中,在不同的工位上逐次完成两道或两道以上冲压工序的模具;
1 x7 p! w% \# j: F0 X使用该模具,冲压力必须精确计算,冲床力的大小是这样计算的,周长*1.3*厚度*抗剪强度,你先算好冲力,再选择冲床吨位
, O! G* o- u$ o& u% l1.3是安全系数

评分

参与人数 1三维币 +3 收起 理由
华氏911 + 3 技术讨论

查看全部评分

发表于 2010-2-2 15:07:56 | 显示全部楼层 来自: 中国广东广州
你的最小间隙太小了,不易实现冲压
发表于 2010-2-2 15:31:10 | 显示全部楼层 来自: 中国吉林辽源
应该通过冲压工艺可以实现,难点在图中圈定部分
4 h1 n/ _! L6 R 100201181914bbf51e9e64153d.jpg

评分

参与人数 1三维币 +2 收起 理由
华氏911 + 2 技术讨论

查看全部评分

发表于 2010-2-2 15:45:02 | 显示全部楼层 来自: 中国江苏常州
不能
/ U5 Z: m& U0 K3 ^$ Q4 [1 p! Y第一道拉伸的时候是正拉伸* T$ ^& d7 _; K9 `/ Y  I- ^6 K
第二道工序反拉伸的时候
% U6 }) X0 q$ K' l' D' `凹模无法定位& X9 @% C7 T7 H2 r3 g8 Q" q
而且第一道拉伸时候下部圆角已经硬化; Q5 t1 [: r+ ~$ z  o$ `
四周拉伸不均匀。

评分

参与人数 1三维币 +3 收起 理由
华氏911 + 3 技术讨论

查看全部评分

发表于 2010-2-3 14:12:25 | 显示全部楼层 来自: 中国广东深圳
够呛,建议把8的台阶单独焊接,勉强做出来的肯定一堆问题
发表于 2010-2-3 15:18:51 | 显示全部楼层 来自: 中国上海
这是双拉伸,冲压是不可以实现的.产品设计有问题.
发表于 2010-2-4 11:10:13 | 显示全部楼层 来自: 中国云南昆明
冲压不太可能,允许的话,采用塑料件吧。
发表于 2010-2-4 12:53:03 | 显示全部楼层 来自: 中国浙江宁波
小孔采用翻边工艺完全没有问题。
发表于 2010-2-4 21:43:42 | 显示全部楼层 来自: 中国河南郑州
有难度哦,多大的量啊
发表回复
您需要登录后才可以回帖 登录 | 注册

本版积分规则


Licensed Copyright © 2016-2020 http://www.3dportal.cn/ All Rights Reserved 京 ICP备13008828号

小黑屋|手机版|Archiver|三维网 ( 京ICP备2023026364号-1 )

快速回复 返回顶部 返回列表