QQ登录

只需一步,快速开始

登录 | 注册 | 找回密码

三维网

 找回密码
 注册

QQ登录

只需一步,快速开始

展开

通知     

查看: 1702|回复: 1
收起左侧

[讨论] 望坛友赐教吊具计算方法

[复制链接]
发表于 2010-1-22 00:40:40 | 显示全部楼层 |阅读模式 来自: 中国北京

马上注册,结识高手,享用更多资源,轻松玩转三维网社区。

您需要 登录 才可以下载或查看,没有帐号?注册

x
本帖最后由 汉月弯弓 于 2010-1-22 00:45 编辑
+ H. {4 L, L" d$ d6 c$ T+ G4 L" l, K( k+ |4 h+ k
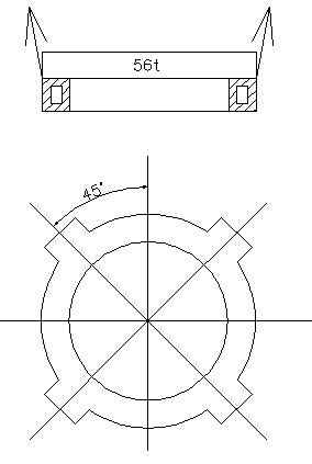
本人有设计一吊具,形式如图,结构为圆环,截面为矩形,在四个耳朵处吊装,圆环承重56吨,该吊具的强度怎么计算啊,望坛子里的朋友赐教!谢谢!
' Z8 g- @7 K) L/ C 1.jpg
发表于 2010-1-22 10:17:35 | 显示全部楼层 来自: 中国江苏常州
第一:计算圆环的截面的抗弯强度- P/ m9 |7 @+ I) s2 n
按照均布载荷计算; ^! }/ s$ S- G, p; `+ T" u
第二,在你的四个方身处侧向加工四个螺纹孔,螺纹孔直径为M30以上;
1 c! T7 K" o; [  m" l6 x& {4 a4 H计算吊颈螺栓的抗弯强度。+ m) a+ d. A+ x0 N$ B7 w; |5 u
第三:计算起吊绳索的抗拉强度
发表回复
您需要登录后才可以回帖 登录 | 注册

本版积分规则


Licensed Copyright © 2016-2020 http://www.3dportal.cn/ All Rights Reserved 京 ICP备13008828号

小黑屋|手机版|Archiver|三维网 ( 京ICP备2023026364号-1 )

快速回复 返回顶部 返回列表