QQ登录

只需一步,快速开始

登录 | 注册 | 找回密码

三维网

 找回密码
 注册

QQ登录

只需一步,快速开始

展开

通知     

查看: 1037|回复: 0
收起左侧

[分享] 塔机液压顶升同步解决方案

[复制链接]
发表于 2009-12-24 09:21:17 | 显示全部楼层 |阅读模式 来自: 中国江苏南京

马上注册,结识高手,享用更多资源,轻松玩转三维网社区。

您需要 登录 才可以下载或查看,没有帐号?注册

x
20091224090032968.jpg
) n' C( E& T1 X" G# L: @/ F7 h
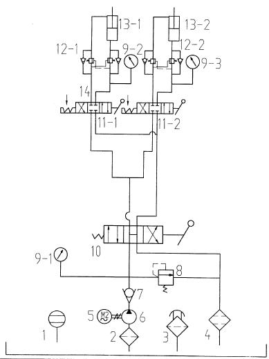
) k3 a5 L: U6 R! }. g/ m2 x      取消原分流集流阀、高压截止阀,其余基本上没有动。11-1、11-2基本上处于常开状态,留下的目的是,万一出现不同步时可进行微调。现在只需操作10手动换向阀。
; p. {+ d+ z! ~) R1 j     实际应用情况:两只液压顶升缸实现荷载相同、顶升同步。
  U8 h5 f4 i$ I0 q/ J5 M- Z     现场并进行试验:有意让一缸先顶(调11-1)后,暂停一下,有意让两缸出现不同步;然后启动10换向阀开始顶升,此时先顶到的缸不动,另一未顶升的缸动作,待两只顶缸荷载相同时,两只缸同步顶升,未出现不同步现象。% n* C" Q3 S/ e& r7 ^* b. i0 G
     这个问题是解决了。但在原顶升原理图中(见链接),有高压截止阀12,按理说,打开该阀后应该取得目前的结果,但并未实现同步顶升。+ P  o" }8 D2 C: K3 n3 y! r
   http://www.3dportal.cn/discuz/viewthread.php?tid=813916&extra=page%3D2
4 G, r) P  [' N, E2 ?' w0 S, g/ s5 a
[ 本帖最后由 wuql2006 于 2009-12-24 09:22 编辑 ]
发表回复
您需要登录后才可以回帖 登录 | 注册

本版积分规则


Licensed Copyright © 2016-2020 http://www.3dportal.cn/ All Rights Reserved 京 ICP备13008828号

小黑屋|手机版|Archiver|三维网 ( 京ICP备2023026364号-1 )

快速回复 返回顶部 返回列表