QQ登录

只需一步,快速开始

登录 | 注册 | 找回密码

三维网

 找回密码
 注册

QQ登录

只需一步,快速开始

展开

通知     

查看: 4237|回复: 7
收起左侧

[求助] 关于萨奥转向器与流量放大器工作原理的请教

[复制链接]
发表于 2009-11-4 14:48:41 | 显示全部楼层 |阅读模式 来自: 中国河北秦皇岛

马上注册,结识高手,享用更多资源,轻松玩转三维网社区。

您需要 登录 才可以下载或查看,没有帐号?注册

x
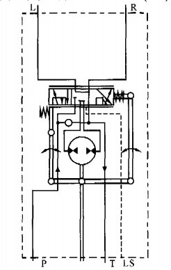
图1为OSPBX系列转向器的工作原理,图2为OSQA系列流量放大器的工作原理。出现的现象是,把转向器和流量放大器一起安装到液压系统中,负载一定,当以较慢的速度转动转向器时,需要的力较小,当以较快的速度转动转向器时,需要的力较大,且转动转向器的速度只能上升到一定值,不能再上升,整个系统是负载敏感变量泵供油。两个元件选型是没有问题的,而且系统也能满足系统需求,我的问题是:1、我不能理解转动转向器快,需要的力越大(即转动转向器需要的力是由那些因素决定的?)。2、转动转向器的速度只能上升到一定值,是由于最大转动速度时,泵的排量已经是最大了,(这时又是什么决定了转动速度)。请教各位了,谢谢!!
9 p# [1 S$ }2 _- D3 g 转向器.jpg     放大器.jpg
发表于 2009-11-4 15:20:38 | 显示全部楼层 来自: 中国上海

回复 1# lwaqq320 的帖子

根据你说的现象可能是:1、转向器的管路的通经过小,P口的进油能力不足;2、LS回路的管路长度过长,导致压力损失过大;从而变量泵的压力偏小。因P泵=PLS+20bar。
! i; t" S' \' y# J你最好检查一个你的液压回路上是否安装了其他什么液压元件(比如梭阀、换向阀等)是否存在内泄。还有就是转向器与流量放大器的安装距离最好不要超过3米(即控制管路的联接)。
 楼主| 发表于 2009-11-4 15:51:26 | 显示全部楼层 来自: 中国河北秦皇岛
非常感谢2楼的回答。要说明一下,整个转向回路是没有问题的,我是不能理解转动转向器快,需要的力越大(即转动转向器需要的力是由那些因素决定的
发表于 2009-11-4 16:17:51 | 显示全部楼层 来自: 中国上海
o,原来是这样啊。那还是流量不足,转向器的P油口的管路通经过小。你转向器转向过快时,需要的力大。因为转向器本身就是一个定量泵(手动),如果你转动过快,就说明转向器的转速n大,此时转向器输出的流量也就大。但是转向器的吸油能力不足;正常运转时,转向泵以所要求的压力提供足够的流量,方向盘上最大扭矩将不超过5Nm [44.2 lbf-in]。若转向系统油泵未能送出油液流量,或流量太小, 转向器会自动起手动转向泵的功能作用。应该就是这个原因!呵呵。兄弟你看看我分析的对不对。
 楼主| 发表于 2009-11-5 10:26:50 | 显示全部楼层 来自: 中国河北秦皇岛
谢谢keyoujin!经过参考后,我是这样理解的,转动方向盘实际是转动转向器中的定量泵,而驱动定量泵的力是由功率来衡量的,驱动定量泵的功率有两种计算方式,选其中一种,即扭矩T乘以转速n,扭矩T又等于排量v乘以压力P。当负载一定时,压力P一定,而排量也是一定的,所以扭矩T是恒定的,所以转动定量泵越快,需要的功率也就越大,也就反映了转动方向盘的力要更大。当定量泵转速大于一定值时,系统供油泵的排量最大,此时用的力最大。如再想提高定量泵转速,则定量泵的吸油口需要形成比系统压力低的压力区,即真空区,这需要很高的功率,用手来转是转不动的。不知道是不是这样理解
 楼主| 发表于 2009-11-5 10:28:35 | 显示全部楼层 来自: 中国河北秦皇岛
还有个问题是,OSQA系列流量放大器的输出流量与输入流量的比列是怎样形成的?keyoujin,能不能帮解释一下
 楼主| 发表于 2009-11-6 10:36:29 | 显示全部楼层 来自: 中国河北秦皇岛
没人回答我,我顶出来,希望各位赐教
发表于 2010-8-26 13:39:13 | 显示全部楼层 来自: 中国江苏苏州
你有萨奥丹佛斯的样本吗   给我发一份 怎么样  582566098@qq.com
发表回复
您需要登录后才可以回帖 登录 | 注册

本版积分规则


Licensed Copyright © 2016-2020 http://www.3dportal.cn/ All Rights Reserved 京 ICP备13008828号

小黑屋|手机版|Archiver|三维网 ( 京ICP备2023026364号-1 )

快速回复 返回顶部 返回列表