QQ登录

只需一步,快速开始

登录 | 注册 | 找回密码

三维网

 找回密码
 注册

QQ登录

只需一步,快速开始

展开

通知     

全站
9天前
查看: 1406|回复: 4
收起左侧

[求助] 请教焊接符号

[复制链接]
发表于 2009-9-3 15:15:08 | 显示全部楼层 |阅读模式 来自: 中国江苏苏州

马上注册,结识高手,享用更多资源,轻松玩转三维网社区。

您需要 登录 才可以下载或查看,没有帐号?注册

x
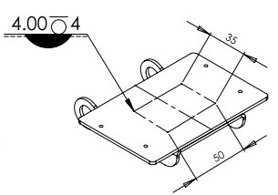
请教焊接符号,如图(美国的图纸)
片段_18.jpg
发表于 2009-9-3 16:12:35 | 显示全部楼层 来自: 中国上海
四周焊缝4mm,○表示四周焊缝。
 楼主| 发表于 2009-9-3 17:03:23 | 显示全部楼层 来自: 中国江苏苏州
原帖由 wangtaowzchina 于 2009-9-3 16:12 发表 http://www.3dportal.cn/discuz/images/common/back.gif+ X: k& ?3 C/ J  j9 G, J8 H/ s! }
四周焊缝4mm,○表示四周焊缝。
% S. D* H3 E( |) }) P
是点焊吗???
发表于 2009-9-3 17:10:55 | 显示全部楼层 来自: 中国河北石家庄
塞焊,4 处,直径4mm,表面磨平:
3 A3 J, G/ h. i. Y4 g2 ]5 T! \美国标注是AWS2.4,与GB324及ISO 2553关于箭头侧的定义正好相反。看图片
4 ^5 J5 r- \+ s! C
5 r# X3 y' ^" |/ q" f) ]& D[ 本帖最后由 730514shq 于 2009-9-4 08:49 编辑 ]
未命名.JPG
 楼主| 发表于 2009-9-3 21:49:12 | 显示全部楼层 来自: 中国江苏苏州
原帖由 730514shq 于 2009-9-3 17:10 发表 http://www.3dportal.cn/discuz/images/common/back.gif
+ D9 G+ ]  c, W! I% r1 J) l7 V' i塞焊,4 处,直径4mm,表面磨平
 % q6 y9 A1 ~/ ?& _3 x
那为什么在其中的一个零件上没有把焊接用的工艺孔(或槽)画在2D上呢) U4 \7 ^% l% ^0 W4 N
* k4 h; Y% _7 h, w+ `& o
[ 本帖最后由 wlm508 于 2009-9-3 22:20 编辑 ]
发表回复
您需要登录后才可以回帖 登录 | 注册

本版积分规则


Licensed Copyright © 2016-2020 http://www.3dportal.cn/ All Rights Reserved 京 ICP备13008828号

小黑屋|手机版|Archiver|三维网 ( 京ICP备2023026364号-1 )

快速回复 返回顶部 返回列表