QQ登录

只需一步,快速开始

登录 | 注册 | 找回密码

三维网

 找回密码
 注册

QQ登录

只需一步,快速开始

展开

通知     

查看: 3256|回复: 6
收起左侧

[讨论] 对机械装配图中零、部件序号编排采用的公共指引线应该如何理解

[复制链接]
发表于 2009-8-4 10:30:59 | 显示全部楼层 |阅读模式 来自: 中国北京

马上注册,结识高手,享用更多资源,轻松玩转三维网社区。

您需要 登录 才可以下载或查看,没有帐号?注册

x
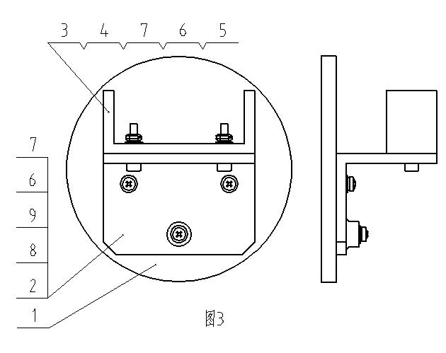
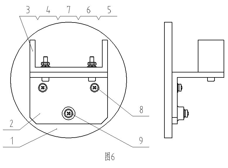
GB/T 4458.2-2003 机械制图 装配图中零、部件序号及其编排方法》中的4.4部分指出:0 `8 _) ]/ U# r  S( {
在装配图中编写零、部件序号时,一组紧固件以及装配关系清楚的零件组,可以采用公共指引线,如上图。4 a2 w* M) m" A7 t/ c' t
此处,“一组紧固件以及装配关系清楚的零件组”应该如何正确理解?" t- B; M0 }3 u9 W) x
假设有一个装配体(结构是否合理请不要讨论),这个装配体由123三个零件和若干紧固件组成。结合上述说法,判断一下下面各图标注的正确与否,如果可能,最好阐述理由。对于如下各图,规定各序号与零件的对应关系如下:
4 l; }+ V6 @! ?) e: X序号1:零件1
1 V; \. `6 o* P8 i
0 K' @! d# e4 P: d8 b  t. }
序号2:零件2
: M* Q  v2 }, q0 P  H' L序号3:零件3
" t. p9 ~' G, J& d$ k! F序号4:内六角圆柱头螺钉 GB/T 70.1 M3X16
3 z; a8 |: s; w. ~2 n; G  {% d/ D序号51型六角螺母 GB/T 6170 M39 ?7 |; W" S2 @/ a# _
序号6:标准型弹簧垫圈 GB/T 93 3. T, O9 P4 R2 Z6 U
序号7:平垫圈 GBT 97.1 3
/ S4 N4 `) i5 r序号8:十字槽盘头螺钉 GBT 818 M3X10
; s% ~: ^2 j! l+ ^! E序号9:十字槽盘头螺钉 GBT 818 M3X16# y6 c: i5 ~/ ?$ m1 P1 u

. }3 X/ |9 U$ A& R: M3 u; H* X# @9 B7 @* u
xh1.JPG
7 Y* G8 d: C; \. J  {2 |/ M" j4 j6 u1 g  a  e4 c" ]/ o- e0 p' q

4 w, B! _- h+ @ xh2.JPG
: [! U5 B4 g% D- i. v
  x, U% o9 f( J+ G) B8 m+ ~2 `+ t. Y7 Z4 J
xh3.JPG
# j. ?6 }) P  `% [" x2 A: m: J' d

* M! @( G( w4 b7 b8 N: H, M5 y xh4.JPG 3 H, T  z% a! v) T1 X) _

2 ^1 J- ~  O7 x& P, |3 j: t# Z. w' T$ K) Y% T3 H0 d
xh5.JPG
/ g2 j3 @1 k/ a& I2 s: }0 z% k' ]& Q6 D' i# z
- \/ H* E  i  E# C( C6 h4 n
xh6.JPG & V% i: e7 N0 M. y* F  u

8 g& T3 q1 @/ A
$ ~  ^& J4 |; d8 V; k xh7.JPG
4 m" E+ N3 u: e9 a: X( Y* [& A! T0 h) o6 z+ W2 V& h8 ~
再补充一个图:# n: B. y0 S1 p  k& p& _5 }
9 }2 d0 E1 t; V* r, A2 j! b0 A
xh8.JPG
. ]# E: X  ~% Y/ r& I" d
4 I- X, d, p' ~! S0 L* d, `[ 本帖最后由 wjxwin2006 于 2009-8-4 12:55 编辑 ]
发表于 2009-8-4 11:18:00 | 显示全部楼层 来自: 中国上海
个人认为:" f1 Y8 f7 o' Y/ O& f6 `
内六角圆柱头螺钉按图4: l# O. Q; x% `( [9 m
十字槽盘头螺钉按图7
$ M/ p; o% T2 `7 H123按图145都行
 楼主| 发表于 2009-8-4 11:38:53 | 显示全部楼层 来自: 中国北京
是不是就是说,零部件和紧固件不能一起用公共指引线?紧固件的序号顺序按装配顺序而不是按“栓->钉->母->垫”的顺序?* i  L- {2 R6 |6 d: l
8 ^2 Y6 C4 s$ S1 {* M( C
[ 本帖最后由 wjxwin2006 于 2009-8-4 11:43 编辑 ]
发表于 2009-8-4 11:53:53 | 显示全部楼层 来自: 中国上海
最好是不至于引起误解,虽然有时也能看懂,但最好不要这样用。3 b) y8 b  o2 e3 ?7 O" @$ w; |
顺序是这样的。
: A, R: N$ o- C) Y我们一般是将零部件先编号,标准件最后编号,如果零部件为1~50,标准件则从100开始这样子。
发表于 2009-8-4 22:17:13 | 显示全部楼层 来自: 中国上海
图2、3、6、7是错误的,尤其是图2,太离谱了吧。
4 [6 a  y5 i  g+ |图4、5、8是有不好的,序号还是应按4、5、6、7的,而且图8没有不要重复这么多。2 l" m, L1 R  c
3 Z7 Q9 q6 G; f2 e- v
“一组紧固件以及装配关系清楚的零件组”,最好理解成“一组紧固件,或装配关系清楚的零件组”,把零件和紧固件共用一条指引线,那“关系”是一点也不清楚了,实在吃不准按照图1是不会有错的, :lol:
发表于 2009-8-4 22:38:43 | 显示全部楼层 来自: 中国上海
个人意见,一是零件、复用件(借用件)、标准件、外购件(其实标准件也属于外购件,这里所说的外购件是指市场上没有统一标准的采购件)等序号应做出不同的标志,比如零件用1、2、3...,复用件(借用件)用J1、J2、J3...,标准件和外购件和编在一起用B1、B2、B3...表示,这样图纸会更加清晰;二是序号大小要按顺时针或反时针规则排列并与零件号一一对应,不要序号是一种排列方法,零件号又是一种排列方法,即序号为1的,零件的编号最好也是1,序号是10的,零件号也是10,这样查找零件才方便。
6 R3 F$ G) d( w; F- d& J楼主所说的“一组紧固件以及装配关系清楚的零件组”一般只用在同一位置上的螺栓、垫圈、螺母组合上,其它组合很少很少用,尤其是零件的组合,零件的组合可用部件或组合件(只用一个代号,组合件中各零件可有自己下一级的代号)来表示。
" r. v/ E9 j" c6 r! c
5 S' p& Q$ H; W* G& L9 d5 |[ 本帖最后由 枫林相伴 于 2009-8-4 22:40 编辑 ]
 楼主| 发表于 2009-8-11 17:44:52 | 显示全部楼层 来自: 中国北京
在纺织机械的标准里面,紧固件是不单独编号的,它的紧固件与被紧固的零件是共用同一条指引线的,而且直接将紧固件的标识写出来。要按照大家的理解,纺织机械的标准是错误的?
发表回复
您需要登录后才可以回帖 登录 | 注册

本版积分规则


Licensed Copyright © 2016-2020 http://www.3dportal.cn/ All Rights Reserved 京 ICP备13008828号

小黑屋|手机版|Archiver|三维网 ( 京ICP备2023026364号-1 )

快速回复 返回顶部 返回列表