QQ登录

只需一步,快速开始

登录 | 注册 | 找回密码

三维网

 找回密码
 注册

QQ登录

只需一步,快速开始

展开

通知     

查看: 2147|回复: 17
收起左侧

[已解决] 摩托车磁电机飞轮的制造工艺

 关闭 [复制链接]
发表于 2009-3-2 11:22:03 | 显示全部楼层 |阅读模式 来自: 中国浙江杭州

马上注册,结识高手,享用更多资源,轻松玩转三维网社区。

您需要 登录 才可以下载或查看,没有帐号?注册

x
一般的摩托车磁电机飞轮上都有一个凸台,小弟想请教一下大家:这个飞轮壳的制造工序是怎么样的?谢谢了!
发表于 2009-3-5 11:32:23 | 显示全部楼层 来自: 中国上海
用图纸说明一下比较好。
发表于 2009-3-5 11:40:28 | 显示全部楼层 来自: 中国重庆
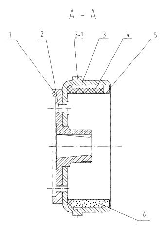
是 不是这样
20078517726688.jpg
发表于 2009-3-5 11:41:20 | 显示全部楼层 来自: 中国重庆
右边螺栓旁边那个凸台是不是?
 楼主| 发表于 2009-3-12 14:02:30 | 显示全部楼层 来自: 中国浙江杭州

请教这样的外形如何做得好

之前发的帖子被转到别的版块去了,小弟想再请教一下大家,如附件中是摩托车磁电机转子图,原件上没有齿,需要后续制作(焊接?)加上34个齿,请教一下大家怎么样加工才能保证较好的尺寸精度及强度?
a1.jpg
a2.jpg
发表于 2009-3-12 14:09:26 | 显示全部楼层 来自: 中国上海
比较好的方法应该是焊接了,先在转子上加工出定位槽,然后焊接齿。貌似图中的齿是固定线圈用的?
) q9 e( Y/ o( o, t5 z( V+ M$ w% X  B. W! S% k, ~3 j
[ 本帖最后由 tigerdak 于 2009-3-12 14:31 编辑 ]
 楼主| 发表于 2009-3-12 14:12:37 | 显示全部楼层 来自: 中国浙江杭州
齿是用来作为传感器触发信号用的,尺寸上要保证一定的精度
发表于 2009-3-12 14:19:28 | 显示全部楼层 来自: 中国上海
不妨把齿的尺寸和定位精度要求说一下。另外以后批量生产是不是都采用这种方式,不打算用整体式的,或者仅这一件?
 楼主| 发表于 2009-3-12 15:36:26 | 显示全部楼层 来自: 中国浙江杭州
除了那个宽齿隙外,其它的齿隙宽度和齿宽度相等,均为5°正负0.5°。批量生产的话应该模具来做了,只不过小弟对此模具工艺也不太清楚,是先冲凸台后拉伸还是先拉伸后冲凸台?
头像被屏蔽
发表于 2009-3-12 15:40:03 | 显示全部楼层 来自: 中国辽宁丹东
提示: 作者被禁止或删除 内容自动屏蔽
发表于 2009-3-12 15:45:19 | 显示全部楼层 来自: 中国山东聊城
楼上的方法可以一试。. i9 C; t' p! p8 M% X, e; H) W4 {! {

* M1 R/ ~, t0 y/ ?可以在转子上开定位槽,然后再焊接,这样强度大,精度也高。

评分

参与人数 1三维币 +1 收起 理由
天际孤帆 + 1 感谢讲解。

查看全部评分

发表于 2009-3-12 16:05:29 | 显示全部楼层 来自: 中国江苏常州
做个模具先在圆周上冲N个孔
# a9 M5 H, C! k然后将阶梯销轴粘结在孔里面。
5 B6 W. k+ \5 a% U+ I8 \/ m是计算用的没有强度要求。
发表于 2009-3-12 16:12:55 | 显示全部楼层 来自: 中国上海
转子外径在你的图上没标出来,估计至少60mm应该有吧,按60mm算的话±0.5°的偏差换算成圆周方向的弧长偏差是±0.26。这个精度用定位槽再焊接的方法可以满足,把定位槽加工得深点,宽度方向用过渡配合。
发表于 2009-3-12 18:25:20 | 显示全部楼层 来自: 中国广西梧州
先焊接一个环,然后再数控滚齿!
发表于 2009-3-13 09:07:26 | 显示全部楼层 来自: 中国山西太原
1  在原转子外壳上铣4个定位槽。8 c9 o) O" B- k6 f9 e. B
2  作齿套内孔与上述外壳配合,并插4槽与上述4槽对应。* w8 p2 F  I+ d9 y9 W$ I
3  上述4槽配入4条小键,两端点焊固定。
9 [$ Y- {; v5 t2 F/ K4  套外分度铣齿。

评分

参与人数 1三维币 +5 收起 理由
天际孤帆 + 5 完整的改造办法。

查看全部评分

发表于 2009-3-13 15:36:14 | 显示全部楼层 来自: 中国上海
设计一个焊接夹具,能保证较好的尺寸精度及强度。
发表于 2009-3-13 17:43:15 | 显示全部楼层 来自: 中国北京

回复 1# sky19 的帖子

扣槽在焊接,其实很麻烦,真的很麻烦,别的好方法我没见过怎么加工
发表于 2009-4-20 08:18:08 | 显示全部楼层 来自: 中国重庆
都很麻烦# `( z+ S) ~: l5 Q8 P% ]6 _
最简单的方法就是在外圆上压装一个信号盘
7 L2 a# Y5 U" R& ]0 _3 P1 ?楼主需要的话可以和我联系哦  我们厂能做这个
发表回复
您需要登录后才可以回帖 登录 | 注册

本版积分规则


Licensed Copyright © 2016-2020 http://www.3dportal.cn/ All Rights Reserved 京 ICP备13008828号

小黑屋|手机版|Archiver|三维网 ( 京ICP备2023026364号-1 )

快速回复 返回顶部 返回列表