QQ登录

只需一步,快速开始

登录 | 注册 | 找回密码

三维网

 找回密码
 注册

QQ登录

只需一步,快速开始

展开

通知     

全站
11天前
查看: 1957|回复: 13
收起左侧

[已答复] 实际困难:一种转盘加工装配

[复制链接]
发表于 2009-1-5 11:19:22 | 显示全部楼层 |阅读模式 来自: 中国江西景德镇

马上注册,结识高手,享用更多资源,轻松玩转三维网社区。

您需要 登录 才可以下载或查看,没有帐号?注册

x
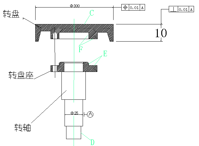
各位好,本人现在实际生产要加工如下图所示的转盘组合,其中,转盘用螺丝固定在转盘座上.
" w+ n+ m" [  y( Z8 W$ U) S( t要求:装配完成后,C面及Φ300的旋转精度在0.01mm内.
3 a( `$ E8 p0 x4 Y! J工作时转盘转动是在Φ25处并列装两个轴承,在D处装A型皮带轮带动.8 Y% ^  [( a7 o" q, f
现在,由于加工条件限制,只能用普通车床加工.
- {. W, i8 [- i. [" A9 @$ q+ K4 Z/ P0 ?) j/ [# M2 D- l; _: S& _
目前,我使用方法是,1.先分别车加工转轴及转盘,2装配完成后,夹轴,精车转盘外圆及平面,
( g' m% w5 x' o- @' A但装配后,旋转总有30--40丝的误差
2 G/ K! C' n; L. @# J1 {
2 d5 E8 i( U$ U& ?3 n5 u请哪位赐教,如何加工才好,或者要使用哪些工夹具?
, M9 B0 c3 a# }先行致谢了
( ^  e3 y% h7 Z% w! U1 w) H7 W: Y- ?0 W3 i9 p. I% T

) k0 [* K8 W5 `
- }* ~* M! O; m补充一下准备采用的方法,请高手看下行不?
3 G+ @* V# O2 c0 O* l1.   双 中心孔顶,加工轴承档及E处配合尺寸7 x2 X8 x4 v1 _, j( v2 B
2 , 粗车转盘C,F处,并加工配合螺钉孔
) ^3 r  P% m' J' E$ f" p+ x* k3 G3.   以精车后的C面定位,加工F处配合尺寸4 W$ Y* m5 {% m" z# b
4.  装配  I6 S3 W5 e! `3 Y+ j9 C. |
3.
1.png
发表于 2009-1-5 12:13:30 | 显示全部楼层 来自: 中国北京
我个人觉得你的加工方法没有错!3 U2 G% c8 }5 S& t0 h* {4 X
但是车床达不到那么高的精度,精车完后应该在上磨床的!

评分

参与人数 1三维币 +1 收起 理由
zyj10282005 + 1 应助

查看全部评分

发表于 2009-1-5 13:24:22 | 显示全部楼层 来自: 中国湖北武汉
二次装夹后的找正方法有问题吧,建议的转盘中心开个孔,让顶针能继续顶在轴中心孔中,保持轴的双顶针装夹,精车C面及外圆。
 楼主| 发表于 2009-1-5 14:00:06 | 显示全部楼层 来自: 中国江西景德镇

回复 3# j.chen404 的帖子

是啊,二次装后,怎么车都达不到要求.也想过在盘上开孔,但转盘使用中受限制,不能开孔./ e  K( \0 O' F  O* \5 P
还有没有别的方法?
 楼主| 发表于 2009-1-5 14:01:59 | 显示全部楼层 来自: 中国江西景德镇
原帖由 yz 于 2009-1-5 12:13 发表 http://www.3dportal.cn/discuz/images/common/back.gif
7 [; ?9 p* D, W; P我个人觉得你的加工方法没有错!
) L( Z9 u* y; J- c; s但是车床达不到那么高的精度,精车完后应该在上磨床的!
3 m9 O+ g. s  K2 Y' U* Q

" _, B9 ^6 d1 ^! u* B9 ^大哥,我只能用车加工.
发表于 2009-1-5 14:09:19 | 显示全部楼层 来自: 中国湖北武汉
先车好转盘,轴承档上留余量,装配后以转盘为基础校正,精车两轴承档试试
发表于 2009-1-5 15:26:42 | 显示全部楼层 来自: 中国湖北十堰
建议采用双顶尖,装配后精车A基准及转盘C面、外圆。这样能保证转盘的C面、外圆和基准一刀成形,相对精度会好得多。
发表于 2009-1-5 16:31:16 | 显示全部楼层 来自: 中国浙江宁波
看了有点迷糊,转盘座精度能达到多少。它是标准件么?如果它的同心度不够,转盘和转轴加工精度再高也没有用。
+ Q/ |2 W. ]( Q, K6 Y还有装配后加工端面和外圆也是同一毛病。三个零件一个同心度达不到就不行。转盘座也需要精加工。
9 R% e  U9 z6 D8 M( N1 A. `9 e
: y2 A" s: _7 q6 G4 E0 q另关于轴类加工,提供一份资料供参考,详细介绍加工阶梯轴的工艺。转盘及转盘座均可以同样参照。

轴类零件加工工艺.pdf

694.12 KB, 下载次数: 10

发表于 2009-1-5 16:57:38 | 显示全部楼层 来自: 中国江苏苏州
很难做好的,考虑到刚性问题这很重要。
发表于 2009-1-6 10:54:54 | 显示全部楼层 来自: 中国上海
实话说,楼主这件东西让我很不理解,这么高的要求,又设计成这种结构。想问一下,是自己想出来的?还是安原样修配(仿造)的?
+ D2 N- W: L; c& G% U我说几句,供大家批评:
( e, e4 T5 d( m1 R4 V; o1、“装配完成后,C面及Φ300的旋转精度在0.01mm内.”这要求已经不是你车床精度高不高,工艺设计合不合理的问题了。你做到完美,还有轴承间隙问题,还有装配精度、变形问题。9 @$ R: Y% h, l
2、你既然把盘片与轴分开,设计上说无非为了更换方便的需要,但在这一精度下,你根本保证不了二次安装的精度。不要说你只用螺丝固定,即便加上定位销也无济于事。配做是必然的,也就是说方便不了。
! T1 v8 e1 d5 l! N* G* J; [3、不论你是什么车床,你只要做二次装夹,都不可能达到0.01mm的精度,打千分表都很难,建议你用千分表打打你的卡盘或主轴,你就会明白的。

评分

参与人数 1三维币 +3 收起 理由
渔樵 + 3 技术讨论

查看全部评分

 楼主| 发表于 2009-1-6 15:42:42 | 显示全部楼层 来自: 中国江西景德镇
原帖由 马尔马拉海 于 2009-1-6 10:54 发表 http://www.3dportal.cn/discuz/images/common/back.gif
( H1 ^8 L! t6 S( L# ~8 o实话说,楼主这件东西让我很不理解,这么高的要求,又设计成这种结构。想问一下,是自己想出来的?还是安原样修配(仿造)的?
2 `% F/ {9 v; s' K1 q4 z  _我说几句,供大家批评:0 l# ^$ |3 o; U6 I) @
1、“装配完成后,C面及Φ300的旋转精度在0.01mm内.”这要求已 ...

# m9 o- S; X2 c. R& A" }$ W: Y+ d
0 k& l6 N4 S% e7 p: _6 h' e+ e3 m% {( _. y) C
老兄指教的是!
# z: F+ M/ b! o9 M, v5 t这个零件是仿制的.就是这么个结构,平常来说,精度要求在0.02-0.05内都可以了.最近最到个用户特别强调旋转精度,费了好大劲都拿不下来----所以跑到这里求教各位了.
" e9 Y  @8 l% x5 `0 C8 x9 X: m& U( O
这是一种陶艺拉坏机用的,这个精度要求并不跟其它部位相关(也即不是装配要求),只是在转盘运转时,如果精度不能达到0.01mm以下,目测时就有较大的摆动感觉.
发表于 2009-1-6 21:52:58 | 显示全部楼层 来自: 中国陕西汉中
建议去掉中间的转盘做,其余尺寸装配后一次车出
发表于 2009-1-7 17:49:21 | 显示全部楼层 来自: 中国湖北武汉
建议采用双顶尖
发表于 2009-1-8 14:47:13 | 显示全部楼层 来自: 中国江苏无锡
关键问题,装配后夹外圆车,用普通三爪肯定不行,必须用高精度的弹簧夹套。另一个办法转盘上留中心孔,装配完双顶磨端面,如果量不大的话,还有一种办法,装配后用薄垫片调整。
发表回复
您需要登录后才可以回帖 登录 | 注册

本版积分规则


Licensed Copyright © 2016-2020 http://www.3dportal.cn/ All Rights Reserved 京 ICP备13008828号

小黑屋|手机版|Archiver|三维网 ( 京ICP备2023026364号-1 )

快速回复 返回顶部 返回列表