QQ登录

只需一步,快速开始

登录 | 注册 | 找回密码

三维网

 找回密码
 注册

QQ登录

只需一步,快速开始

展开

通知     

查看: 1652|回复: 5
收起左侧

[求助] 这个三维模型怎么建?

[复制链接]
发表于 2009-1-3 00:33:21 | 显示全部楼层 |阅读模式 来自: 中国湖南娄底

马上注册,结识高手,享用更多资源,轻松玩转三维网社区。

您需要 登录 才可以下载或查看,没有帐号?注册

x
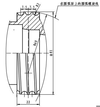
下面是一个在圆弧面上车圆弧螺纹的图纸,不知这个螺纹怎么画?谁能说出三维图的画法吗?4 B5 [( F& g# S5 a9 F2 ~
谢谢!

在圆弧面上的圆弧螺旋线

在圆弧面上的圆弧螺旋线
发表于 2009-1-3 01:16:19 | 显示全部楼层 来自: 中国贵州贵阳
参考一下方法。SW2007附件(特征压缩)
1.PNG

1_sup.rar

48.62 KB, 下载次数: 41

评分

参与人数 1三维币 +3 收起 理由
ltq59 + 3 应助

查看全部评分

发表于 2009-1-3 02:36:26 | 显示全部楼层 来自: 中国陕西西安
螺旋线+ b' S" W/ {: l' n
切除-扫描$ `0 q* q$ [( {) ~7 a6 d, i
" I( x  V" @+ N8 }9 l9 n& @8 @2 I
应该可以吧
发表于 2009-1-3 03:00:37 | 显示全部楼层 来自: 中国陕西西安
原帖由 sw2003x 于 2009-1-3 01:16 发表 http://www.3dportal.cn/discuz/images/common/back.gif
) n. J- L8 G/ s" c; t参考一下方法。SW2007附件(特征压缩)
; S$ g- _$ Q9 ?% W) w
3D草图画螺纹线?7 i. l# y. s5 o% w1 k- e5 T
不会啊
发表于 2009-1-3 08:24:02 | 显示全部楼层 来自: 中国广东佛山
我来练习了一个! 请大虾们指点指点!

旋转练习.rar

251.75 KB, 下载次数: 11

 楼主| 发表于 2009-1-3 13:29:44 | 显示全部楼层 来自: 中国湖南娄底
請問“SW2003X”,曲面-等距1是什么?它在建模中的作用是什么?- x: j- m# L; m& c
不太明白建模的原理,所以有点看不懂,可以解释一下吗?
发表回复
您需要登录后才可以回帖 登录 | 注册

本版积分规则


Licensed Copyright © 2016-2020 http://www.3dportal.cn/ All Rights Reserved 京 ICP备13008828号

小黑屋|手机版|Archiver|三维网 ( 京ICP备2023026364号-1 )

快速回复 返回顶部 返回列表