|
|

楼主 |
发表于 2008-12-30 19:23:00
|
显示全部楼层
来自: 中国湖北武汉
谢谢大家!我个人认为产生裂纹有3方面原因0 X- b. k5 ]% U/ b
第一:材料本身的特性(当然材料力学性能、化学成分是合格的)6 y# L0 K' i0 K v
第二:成型工艺
f, U/ r4 O i' O第三:这种材料能不能热成型?是否热成型容易产生裂纹哪?
( K6 w, W' g% m$ p, c我大概了解一下,镍合金材料成型是很讲究的,由于材料特殊,成型时必须保证表面的清洁,表面不得有油污等污染物,否则表面容易发脆,容易出现裂纹。1 U _2 u3 L$ Y, R, o9 E
成型过程中可能弯曲半径小,拉应力较大,裂纹是由于拉应力产生的。' V) P7 v |# @3 A# u# e+ f+ [5 V8 \
现在关键是裂纹打磨清除并消除应力热处理后能不能再出现新的裂纹?因为盘管里介质为氢气--易燃易爆的。0 ]+ c, q4 {+ j& L3 J9 o8 f
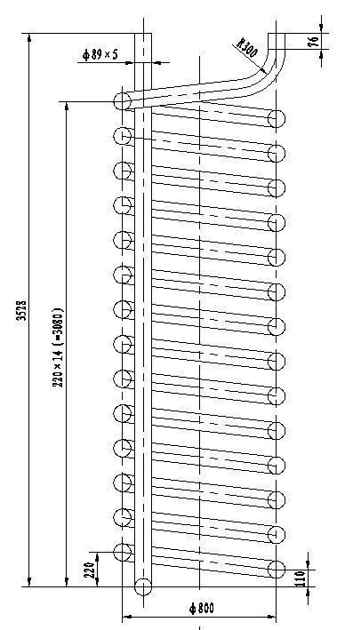
这种材料为ASME SB-407 UNS N08800相当于国内的NS111,谁有这种材料的热成型工艺或应该注意的事项,希望大家不吝指出。
7 P9 K9 E& e: Z6 {% k! T4 t+ ?/ d/ R上面有这种材料成型前后的金相组织图
( a6 c. u. l7 N成型前组织呈等轴晶均布
) }8 R4 b1 b$ a3 P* z+ }成型后组织呈等轴晶均+均布应力线
( A$ z9 ?) J/ v p: F X4 y4 O! s从金相组织看,成型后并没有破坏盘管的金相组织。9 Q/ Q! U: u: [4 b" P+ k1 A7 S
# h& Y9 w" n7 ?1 t+ x
[ 本帖最后由 ljf507 于 2008-12-30 19:31 编辑 ] |
评分
-
查看全部评分
|