QQ登录

只需一步,快速开始

登录 | 注册 | 找回密码

三维网

 找回密码
 注册

QQ登录

只需一步,快速开始

展开

通知     

查看: 1359|回复: 2
收起左侧

[讨论] 法兰轴承内圈车加工工艺怎么排

[复制链接]
发表于 2008-11-4 15:01:16 | 显示全部楼层 |阅读模式 来自: 中国江苏南通

马上注册,结识高手,享用更多资源,轻松玩转三维网社区。

您需要 登录 才可以下载或查看,没有帐号?注册

x
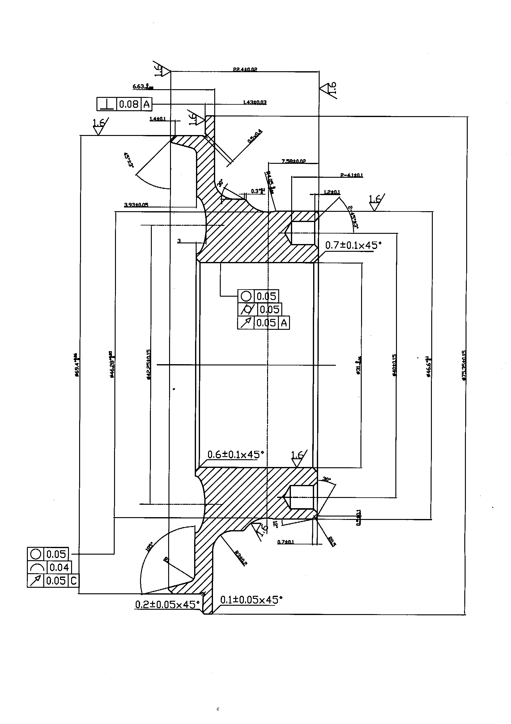
请各位高手看看这个法兰轴承内圈车加工工艺怎么排,请具体一点

法兰轴承内圈车加工成品图

法兰轴承内圈车加工成品图
发表于 2008-11-4 17:50:59 | 显示全部楼层 来自: 中国吉林吉林市
尺寸精度和形位精度没有给  没有这两个要求 编不成合格得工艺
 楼主| 发表于 2008-11-5 10:22:32 | 显示全部楼层 来自: 中国江苏南通

接楼上

请大家看看这个法兰轴承内圈车加工工艺怎么排
GENERIC25BW120081105084224.GIF
发表回复
您需要登录后才可以回帖 登录 | 注册

本版积分规则


Licensed Copyright © 2016-2020 http://www.3dportal.cn/ All Rights Reserved 京 ICP备13008828号

小黑屋|手机版|Archiver|三维网 ( 京ICP备2023026364号-1 )

快速回复 返回顶部 返回列表