QQ登录

只需一步,快速开始

登录 | 注册 | 找回密码

三维网

 找回密码
 注册

QQ登录

只需一步,快速开始

展开

通知     

查看: 1374|回复: 3
收起左侧

[已答复] 三环减速器的输入部分是怎样的

[复制链接]
发表于 2008-10-19 10:32:21 | 显示全部楼层 |阅读模式 来自: 中国四川成都

马上注册,结识高手,享用更多资源,轻松玩转三维网社区。

您需要 登录 才可以下载或查看,没有帐号?注册

x
三环减速器的输入部分是怎样的
$ C* R5 i6 E, K$ N3 R2 W+ E6 X9 ?: `% q& x
         好像有两根轴做输入   那么他们要同时转动的话怎样跟电机连接呢    他们的转向相同还是相反呢
20071127155226127.jpg
发表于 2008-10-19 11:44:27 | 显示全部楼层 来自: 中国山西太原
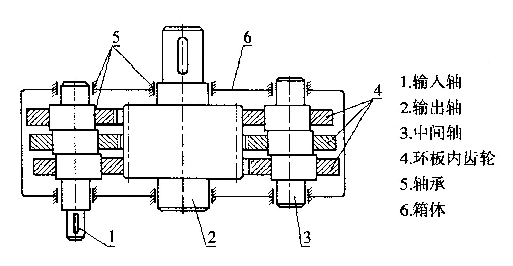
三环减速机由三片相同的内齿环板带动一个外齿齿轮输出,故称为三环减速器,属平行轴一动轴齿轮传动减速器,齿轮啮合运动属于动轴轮系,具有少齿差行星传动特征,输出与输入轴间平行配置,又有平行轴圆柱齿轮减速器的特征。具有承载和超载能力强、传动比大、分级密集、效率高、结构紧凑、体积小、质量轻、装拆维修方便、适用性宽广等优点。/ U1 t' Y4 I! T# F! S! W6 o
  d! c. [0 h5 s# E  b
" D5 k0 ~( @8 n3 t: N
http://www.nbxhyy.com/UploadImage/0024.jpg三环机工作原理:采用行星齿轮内啮合方式传递动力。根据火车头采用的“四杆机构”的原理,同步旋转二根曲轴,带动相互平行的、嵌有内齿轮的三只环片,在空间作平面圆周运动,内齿轮都围绕一只输出轴齿轮旋转,呈现“多层齿圈”围绕一个中心轮、作行星式“流转啮合”的布局。
4 `' {" T" c/ d1 `1 F

评分

参与人数 1三维币 +2 收起 理由
asdolmlm + 2 鼓励参与

查看全部评分

发表于 2008-12-11 08:53:25 | 显示全部楼层 来自: 中国北京
基于Pro/E的三环减速器参数化设计系统开发与研究.JPG
发表于 2008-12-11 15:06:01 | 显示全部楼层 来自: 中国北京
最好用一根输入,否则不好解决同步的问题,这样容易损坏减速器,单级的如果在同一侧就是相同,异侧就是相反!楼主的图上的减速器是加了一级的,也就是转向正好于单级的相反,如果在同一侧就是相反,异侧就是相同!& s3 a6 p7 _' s2 |1 p) v$ R

7 {* ^' s! m6 i! ]5 h# Z2 N7 l8 \) _[ 本帖最后由 cjh303557 于 2008-12-11 15:10 编辑 ]
发表回复
您需要登录后才可以回帖 登录 | 注册

本版积分规则


Licensed Copyright © 2016-2020 http://www.3dportal.cn/ All Rights Reserved 京 ICP备13008828号

小黑屋|手机版|Archiver|三维网 ( 京ICP备2023026364号-1 )

快速回复 返回顶部 返回列表