QQ登录

只需一步,快速开始

登录 | 注册 | 找回密码

三维网

 找回密码
 注册

QQ登录

只需一步,快速开始

展开

通知     

全站
10天前
查看: 2715|回复: 7
收起左侧

[求助] 三环减速机

[复制链接]
发表于 2008-9-10 14:36:54 | 显示全部楼层 |阅读模式 来自: 中国辽宁葫芦岛

马上注册,结识高手,享用更多资源,轻松玩转三维网社区。

您需要 登录 才可以下载或查看,没有帐号?注册

x
那位有三环减速机设计的资料。
发表于 2008-9-18 15:03:14 | 显示全部楼层 来自: 中国广东阳江
没有,为什么要三环的呢?2 z5 j3 b/ E9 t: R5 t+ S
好吗?
发表于 2008-9-19 15:05:02 | 显示全部楼层 来自: LAN
三环减速机
5 j8 [3 z2 V8 e+ ]0 I- `
3 A" k7 S4 E  n, S( q( S1.产品特点及介绍# k' P: b) A6 U% c% a  S2 m
* t) m. q& f9 y

) K' S& W5 y& L4 ^- a" g  三环减速机由三片相同的内齿环板带动一个外齿齿轮输出,故称为三环减速器,属平行轴一动轴齿轮传动减速器,齿轮啮合运动属于动轴轮系,具有少齿差行星传动特征,输出与输入轴间平行配置,又有平行轴圆柱齿轮减速器的特征。具有承载和超载能力强、传动比大、分级密集、效率高、结构紧凑、体积小、质量轻、装拆维修方便、适用性宽广等优点。可用于矿山、冶金、石油、化工、橡塑、建筑、建材、起重、运输、食品、轻工等行业。
2 y+ z) H; I* e+ K5 u) d
5 p; ?  u4 M, c0 e/ ~  L, M3 S7 e) Q; I0 Q0 E
  工作条件:高速轴转速不超过1500r/min;瞬时超载转矩不大于额定输出转矩的2.7倍;工作环境温度为-40~45℃,低于0℃时,启动前应对润滑油采取预热措施;正、反两向运转。
& j* x* |1 a9 V) O: J, s3 v
# [  F6 M2 i# f: P9 ]7 u) }: e& \& o8 P
  2.三环减速机轴伸形式
1 e1 |; M3 n0 v* \0 i9 F3 W; F! d, H3 d+ G
( @- s( J" ?! p3 N6 z
  Y型:圆柱轴伸,单键平键联接;8 G' x9 r! S/ x, G4 M: m0 J

8 h( a% P1 x: t& y( @
0 x0 G& e3 E- ], ^  Z型:圆锥轴伸,单键平键联接;
1 z9 c* x. u6 X8 @  X6 [- ^- J  S7 ]% E; y( V7 P6 w2 l
; {, b* v% {$ N) ~# z- V9 t4 V- e
  H型:渐开线花键轴伸;; b2 M% X6 [  P2 J
7 f' F* R- f/ }. A7 z
# z5 b# T" I0 K) J- F4 W" P
  C型:齿轮轴伸(仅QSH(QTR)和QXSH(QXTP)减速器用);
5 X; s' ?6 T$ p
3 Y+ {0 K' X2 M, \
! \* n7 C7 h# l' H" K" ~6 ?" x  K型:圆柱型轴孔,平键套装联结;
" {6 ?, x4 m$ \+ E5 x+ i) N* C# @' I# j; P% b4 d5 x0 \
. a7 H* @4 _  J! C( m9 q+ s6 x6 B
  K(Z)型:圆锥形轴孔,平键套装联结;9 S' e6 u8 Q# A; V( u

" @& N/ ^$ D, Y. Q& j# J! J& I2 n1 i7 Y1 }: j/ h/ t/ m; t
  K(H)型:花键轴孔,套装联结;% m4 K# m% {  t5 |" Q

& ~- ~/ E) d' q) k1 p8 }, D# O; B
9 @; t/ i' P9 i% }6 q, O  D型:轴伸与电动机直联。! {8 P; j, Z2 U& y1 v7 [/ u) E3 J
4 X9 W. I6 [+ q  l+ ~% }
; Q$ I; s( z" f4 k5 y8 j% F
  3三环减速机使用及维护
+ D7 y  K" M5 g) H$ I. P5 M) S5 r" I2 O$ V/ c! N
3 a# h$ }, {# [7 f
  减速器的工作条件:3 G8 a9 t, j0 ~1 L

0 {$ Q# \& p: ?0 c4 [! X4 F" ^7 w" [0 ?3 e' J+ J
  a、 工作环境温度为-40℃ C~+45℃,环境温度低于0℃时,启动前润滑油应预热。
8 i5 s9 Y  C9 w
9 o+ i- W, l% b! H% X6 T0 [4 d( y- g  q, d) m- W# |( J. L
  b、 高速轴转速不得超过功率表中规定的最高值。
( o) A( T/ `0 N& O4 s7 d3 }! W/ [0 Q
6 g" [; k& W# p' j8 s- f3 P" Y2 Y7 s1 `$ B$ M9 k
  c、 瞬时允许尖锋转矩为额定转矩的2.7倍。% a' r2 I  i4 ^3 X, I
9 a# {8 D2 Y  t- T- p

& p2 c3 x9 F4 @, C4 z. ^  d、 适用于连续,短时或断续工作制,可正反转。
1 B5 f! L3 J7 ^4 f+ n  @- {2 k# v
0 r6 |8 u3 q( }5 W9 y5 _6 `% ~7 ]9 w, S* i9 {8 l) b  i
  e、 减速器与原动机(常用电动机)和工作机之间应用非刚性联轴器且其轴心线应严格对中。% ~0 Q6 N/ k9 t
8 x" v1 K4 C8 r$ y2 y7 ~* k
" s- K1 k/ \) ^8 n- h7 f6 s
  安装后用手转动高速轴,使低速轴正反两向灵活一周上。
& e! k. G  u. o4 @4 c  p- z! E; j5 d3 J- C6 n" m4 x" N. Q
4 B% J9 u* T% v" P9 x* e" [
  减速器一般用油池溅油润滑,自然冷却,当长期连续运转热平衡功率不够时应采用取散热措施 或用循环冷却润滑。润滑油采用N110-N200中极压齿轮油。对于断续工作制可用半流体润滑脂。
# T& T4 a) O+ h5 O" A
" F) W3 t& q* b) o4 E9 R0 N3 q, G4 K) L
  正式使用前应空运转两小时,然后按额定载荷 的25%、50%、75%100%逐级加载。情况正常,应运转平稳,无冲击,最高油温不超过80℃,温升不超过60℃。# b; E4 P8 ~/ |1 P7 @
, l+ h0 M7 r  {* S; F& }/ r
0 X, N5 A! Y# z* `; h4 k
  新减速器运转300小时后换润滑油,以后3000小时换一次。换油时应清选减速器内壁及传动件。) n6 t- \4 T& x% y8 g( a5 y
4 D6 k" n- W* `

4 G! A, j2 \, r* k# T  u  应经常检查固件有无松动,油位高低,油温和轴承温度,齿轮,轴承应无异常振动和噪声。; E# ~: k  f5 \% P* q9 H) i
; Z4 _( p' z. z! {
7 [3 b6 F: x0 m* D  r+ B# _
  应保持减速器外表清洁,透气塞不得堵塞,以便散热。' p) l; F5 @: R$ }9 r! o

8 j: v" D% l8 q2 J( `7 @
( q( H- i2 S( n  使用中或开箱检查以及更换配件后减速器不得有渗漏现象。
5 ^5 W; ~- H, ^. \! U0 V  L" R% ^6 c' f. H! C

" C2 o) v: Q2 a+ B' o: d2 y  配件应与制造厂联系,更换配件后经跑合以及加载试验再正式使用。
. m/ a& X. l- N0 y6 s
3 l/ X7 S8 v  R" l% E; G+ |' q' M以上资料来自于百度百科4 G8 B0 z; K( {& f8 k0 L

5 l, K+ L6 i+ l1 q5 M& |. _6 O$ m[ 本帖最后由 虎强 于 2008-9-19 20:50 编辑 ]

评分

参与人数 1三维币 +2 收起 理由
hero2006 + 2 感谢参与

查看全部评分

发表于 2008-12-10 11:50:07 | 显示全部楼层 来自: 中国北京
发表于 2008-12-10 11:57:45 | 显示全部楼层 来自: 中国北京
http://www.nbxhyy.com/UploadImage/0024.jpg三环机工作原理简单介绍+ W) W! P% C" _8 H1 X
! o1 M/ P# l, ?# u1 p* ~9 h  f" a
  采用行星齿轮内啮合方式传递动力。根据火车头采用的“四杆机构”的原理,同步旋转二根曲轴,带动相互平行的、嵌有内齿轮的三只环片,在空间作平面圆周运动,内齿轮都围绕一只输出轴齿轮旋转,呈现“多层齿圈”围绕一个中心轮、作行星式“流转啮合”的布局。% S8 O8 C9 C+ d, w" ?

" Q! i% u2 |8 v# _[二]对比同类产品,[三环减速器]的主要优点:: c7 u- p4 R6 ^1 ]3 j- f
9 t+ F4 {0 Z# Y
1.传动比大,单级[I]=11-99,二级[I]=50-10000;
4 u0 \1 C$ y5 X3 F6 u  S% n" I
" \* q8 L; {' a2.利用“动率分流”和“内齿多齿接触”的优势,承载能力较强;9 n% @6 w; C, h( P; C& q* P  W

/ Y) ?2 F8 Z+ q- R* a3.结构较简单、零件少、体积小、重量轻;+ _  X+ t% j  T5 [" r, t- u1 ~
3 H1 M! g$ J0 x4 h
4.效率较高,单级效率[η]=92%-96%;
* m4 J1 w$ o- f* w+ s  f; k* X/ q) g, i2 j8 D
5.不需要特殊材料和特殊加工工艺制造成本低;2 j( O) u9 k- X
# _! J. a$ S9 z' b  p* b9 ?& N1 h
6.机组齿轮线速度较低;
- ^) j, V1 S: s$ c1 {, O$ ?0 ~% w9 L/ x) u6 X
7.传动比范围大,可省去常规齿轮传动中所用大齿轮;
* e* p5 E. H: b4 j: v' `# K- w
9 @/ k2 v% J$ T" Q8.采用内啮合方式,有多对齿同时啮合,不发生接触疲劳破坏;
7 f1 p  W5 |7 w5 Q4 b
6 ^" u1 }9 y. G[三]三环机的性能、适用范围:6 E" L* Z! |/ }1 \" _

& c: C& R! J! M& e0 i7 b输出扭矩范围:0.12KN.m≤[T]≤469KN.m
+ J2 W4 [0 C6 K8 G: q! g* z. n0 O# B! E1 x& f! w* O
减速比范围:单级减速之场合:[I]min=9-12;[I]max=90-120
! ^1 y! G* j7 y  v
( N+ {0 F1 w' L- l. ?2 L1 E双级减速之场合:[I]max=500-100005 S4 b+ V. l- ~& Q; X6 `4 E

# q# ]/ V- m6 g, i! [0 W2 |SH三环机可制成卧式、立式及各种安装方式与使用条件下的“派生形式”,可应用于所有动力设备需要减速的场合,特别适用于要求高安全系数的环境,是一种高档减速机。. G8 ^: ^/ m( [
) T3 v  P2 M1 }6 {: o
, ~2 E$ a, r8 M2 |: p
http://s13.photo.store.qq.com/http_imgload.cgi?/rurl4_b=3a54e11c5ae0c5755f23740ca6ea5eb5b012d0f463d625fcebf2c982bc0e76b6b37226151d2ae5815653e5e0366d2af50a2e0015a22ae2cb3ef9d0918eb66aa50528ee5cca9ffc288c362eeb5d38becc4f848a15
  [8 h! w. V1 ehttp://s3.photo.store.qq.com/http_imgload.cgi?/rurl4_b=3a54e11c5ae0c5755f23740ca6ea5eb5b0df7fd74704e90ca5b6a504cadb60027d385b51ef34de936723d4dba6a8cfbbbb64cddfec7807040b974e7f2c2f41bb620ce2cb703f6362763176a3083471cb748402864 I9 M9 }0 m  `6 `4 q6 @
http://s1.photo.store.qq.com/http_imgload.cgi?/rurl4_b=3a54e11c5ae0c5755f23740ca6ea5eb5838c2a2602d479f08f6668894714a7e3f68f2dafb0bde6e4b655f7302bd5a1eaadb46caec0750f86ec77122633c22e9a18e2c0e1f18f300c0295230f34166ff52327e088
- s, |) H( h/ @1 W1 Y! H- khttp://s4.photo.store.qq.com/http_imgload.cgi?/rurl4_b=3a54e11c5ae0c5755f23740ca6ea5eb574f0cfdf30b841b784a3e47d77d8ce06915d577b4092fa4d2b5ed1bc1057a964046472e196f6d7b208637aec52c9d04a44fb99cb46a46e4b6420a70e52a1ec7596b1cf82
发表于 2008-12-11 11:13:33 | 显示全部楼层 来自: 中国山西太原
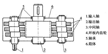
三环减速机由三片相同的内齿环板带动一个外齿齿轮输出,故称为三环减速器. 其工作原理,采用行星齿轮内啮合方式传递动力。同步旋转二根曲轴,带动相互平行的、嵌有内齿轮的三只环片,在空间作平面圆周运动,内齿轮都围绕一只输出轴齿轮旋转,呈现“多层齿圈”围绕一个中心轮、作行星式“流转啮合”的布局。它属平行轴一动轴齿轮传动减速器,齿轮啮合运动属于动轴轮系,具有少齿差行星传动特征,输出与输入轴间平行配置,又有平行轴圆柱齿轮减速器的特征。具有承载和超载能力强、传动比大、分级密集、效率高、结构紧凑、体积小、质量轻、装拆维修方便、适用性宽广等优点。结构示意见下图:
三环减速器结构示意图.jpg

评分

参与人数 1三维币 +3 收起 理由
hero2006 + 3 应助

查看全部评分

发表于 2009-2-6 10:26:28 | 显示全部楼层 来自: 中国江苏泰州
有没有具体的设计资料?
发表于 2009-2-9 11:47:40 | 显示全部楼层 来自: 中国北京

三环减速机齿轮啮合的仿真

三环减速机齿轮啮合的仿真

三环减速机齿轮啮合的仿真.rar

705.66 KB, 下载次数: 14

发表回复
您需要登录后才可以回帖 登录 | 注册

本版积分规则


Licensed Copyright © 2016-2020 http://www.3dportal.cn/ All Rights Reserved 京 ICP备13008828号

小黑屋|手机版|Archiver|三维网 ( 京ICP备2023026364号-1 )

快速回复 返回顶部 返回列表