QQ登录

只需一步,快速开始

登录 | 注册 | 找回密码

三维网

 找回密码
 注册

QQ登录

只需一步,快速开始

展开

通知     

查看: 2328|回复: 3
收起左侧

[讨论] 柴油机的手油泵

[复制链接]
发表于 2008-7-22 11:05:28 | 显示全部楼层 |阅读模式 来自: 中国江苏常州

马上注册,结识高手,享用更多资源,轻松玩转三维网社区。

您需要 登录 才可以下载或查看,没有帐号?注册

x
各位好:8 @+ }% v3 w2 }5 D' q
有知道柴油机上的手油泵是什么的吗?
) ]& F& f) ~  S, l6 b  Z; W谢谢
发表于 2008-7-22 20:56:03 | 显示全部楼层 来自: 中国江苏常州
字体大小改不了?( J1 d  h! g, w. V( r. N& i8 f
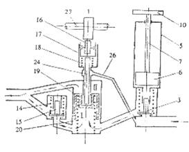
当检修供油回路或柴油燃尽重新加注燃油后需要用手动油泵将燃油管道及主油泵填充满,以便排除空气及有效供油. G" j+ ~' ]7 |. [8 R8 K- u
手油泵工作原理:
/ u$ [* ]# r5 m1 Y6 D
旋开手柄,往复抽按手油泵活塞,活塞上行时,将柴油经进油阀吸入手油泵泵腔,活塞下行时,进油阀关闭,出油阀开启,柴油经机械油泵下腔流出。
% Z; l# S0 t% d. g/ C6 D

: Y4 Z' ~; w. m3 r4 [( O% Z8 S+ M* r
! p! ]% q+ a/ B+ v
2 D7 r# o# e- T2 H- a+ t
+ Z, e7 h/ i' n

, I% |! s. l8 H2 a
# X7 v. V/ ^$ _# Y0 ~. O+ `2 ]& Y[ 本帖最后由 clztp2004 于 2008-7-22 21:09 编辑 ]
图片1.jpg
发表于 2010-3-14 10:25:35 | 显示全部楼层 来自: 中国浙江杭州
现在的柴油车上还有手油泵吗?求证。
发表于 2010-3-15 00:07:37 | 显示全部楼层 来自: 中国广西柳州
我们的柴油发动机上面有。汽车的发动机上应该也有!
发表回复
您需要登录后才可以回帖 登录 | 注册

本版积分规则


Licensed Copyright © 2016-2020 http://www.3dportal.cn/ All Rights Reserved 京 ICP备13008828号

小黑屋|手机版|Archiver|三维网 ( 京ICP备2023026364号-1 )

快速回复 返回顶部 返回列表