QQ登录

只需一步,快速开始

登录 | 注册 | 找回密码

三维网

 找回密码
 注册

QQ登录

只需一步,快速开始

展开

通知     

查看: 3438|回复: 18
收起左侧

[已解决] 做个能压紧还能旋转的夹具

 关闭 [复制链接]
发表于 2008-7-15 21:31:43 | 显示全部楼层 |阅读模式 来自: 中国浙江宁波

马上注册,结识高手,享用更多资源,轻松玩转三维网社区。

您需要 登录 才可以下载或查看,没有帐号?注册

x
做个能压紧还能旋转的夹具:壳体和盖子要压紧后再焊接,要求能一边旋转一边焊接,其重量约有6公斤,请各位有什么好的夹具,帮帮小弟!' n4 }+ O! f7 m* J" Y& o: ?

3 {6 `$ m0 H2 b6 }* _[ 本帖最后由 渔樵 于 2008-8-25 07:32 编辑 ]
发表于 2008-7-15 21:40:19 | 显示全部楼层 来自: 中国浙江温州
这样说,好像弄不明白,说清楚点好吗?用在什么地方?需要什么技术条件等?
发表于 2008-7-15 21:57:55 | 显示全部楼层 来自: 中国河南洛阳
说的太笼统了,不能理解楼主的意思,希望能说明白一点
 楼主| 发表于 2008-7-15 22:08:09 | 显示全部楼层 来自: 中国浙江宁波

回复 2# 的帖子

就是一个壳体与一个盖子要压紧再一圈用锡焊焊,因为壳体里面装有东西同时还有油,所以必须靠盖子压住,要求一边旋转一边焊,不能漏油,,就是要做这么个夹具!!补充说明下其长度有200mm
发表于 2008-7-16 07:40:15 | 显示全部楼层 来自: 中国山东烟台
盖子只起盖的作用,并不焊接吧?
发表于 2008-7-16 09:32:49 | 显示全部楼层 来自: 中国山西太原
作一箱体安装蜗杆、蜗轮,用电机带动蜗杆传动。在蜗轮轴上安装一个圆盘作为旋转台,圆盘上钻连接孔,将工件用压板、螺栓压在转台上,启动电机就可进行工件的焊接。

评分

参与人数 1三维币 +2 收起 理由
渔樵 + 2 应助

查看全部评分

发表于 2008-7-18 13:48:03 | 显示全部楼层 来自: LAN
安装一个可调速微型马达,控制圆盘工作台旋转即可,用蜗轮箱加电机成本高了点

评分

参与人数 1三维币 +2 收起 理由
渔樵 + 2 应助

查看全部评分

发表于 2008-7-18 14:54:58 | 显示全部楼层 来自: 中国浙江温州
装个油杯或注油嘴,或用密封圈密封不行吗?非要焊接密封死吗?
头像被屏蔽
发表于 2008-7-19 14:02:37 | 显示全部楼层 来自: 中国辽宁大连
提示: 作者被禁止或删除 内容自动屏蔽
发表于 2008-7-19 20:26:12 | 显示全部楼层 来自: 中国黑龙江佳木斯
好象是个旋转焊接工装,做一传动装置,可用蜗杆机构,或用直齿轮齿圈,可带制动装置,至于夹紧,就好办了.

评分

参与人数 1三维币 +3 收起 理由
sxw68 + 3 积极参与

查看全部评分

发表于 2008-7-23 21:02:30 | 显示全部楼层 来自: 中国重庆
说得太笼统了.如能贴个图就最好.这类工装应该好设计的.
发表于 2008-7-23 22:23:20 | 显示全部楼层 来自: 中国福建泉州
能否在夹具的一个端面加装一平面轴承?!如果可以,那就好办。请楼主把图纸重新上传。
发表于 2008-7-24 21:04:39 | 显示全部楼层 来自: 中国湖北潜江
做他放在一个能转动的圆盘上固定,靠手工转动,圆盘,焊接那东西,能用马达转??
发表于 2008-7-27 10:19:55 | 显示全部楼层 来自: 中国上海
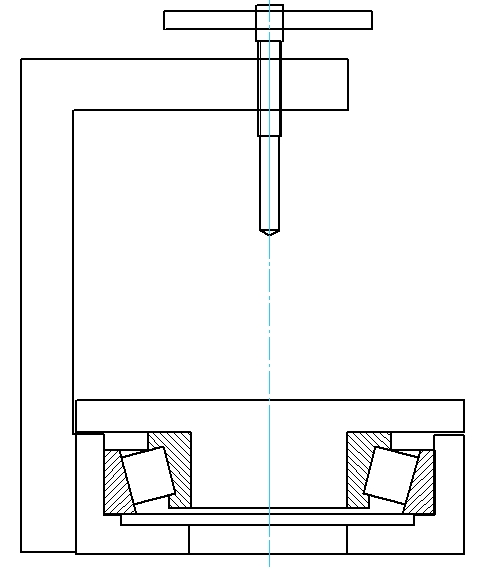
做个转盘夹具就可以,下面是示意图,另加些定位块应该佷方便.
夹具.jpg

评分

参与人数 1三维币 +5 收起 理由
sxw68 + 5 应助

查看全部评分

发表于 2008-7-27 16:05:17 | 显示全部楼层 来自: 中国广东珠海
要自动焊还是手工焊?
. H0 p6 K7 V' @, r# @6 z自动焊就要有驱动回转装置,保证工件安装定心,回转速度可控。
, ]5 H" Y) a  g$ `0 A( A5 Z* ^手工焊只要能回转就可以。

评分

参与人数 1三维币 +5 收起 理由
sxw68 + 5 应助

查看全部评分

发表于 2008-8-20 00:24:54 | 显示全部楼层 来自: 中国广东佛山

帮忙设计一个夹具

请大家帮忙想想有什么好的建议,主要要求就是设计的夹具夹紧可靠,而且操作起来简单方面。具体图纸及其他要求请见附件。

附件.rar

15.45 KB, 下载次数: 13

发表于 2008-8-20 08:37:07 | 显示全部楼层 来自: 中国广东珠海
问题交代清楚,把你要焊接的零件出个图,这样大家出的方案可行性更高。
发表于 2008-8-21 17:30:47 | 显示全部楼层 来自: 中国湖北武汉

回复 1# 的帖子

碰巧本人之前设计过一套类似焊接工装,当时做的是两个轮子中间夹一个芯轴焊接,原理如下:
/ r1 M- {% k0 w) u# q) H顶部装电机和减速机,底部装一个气缸,气缸用来顶紧和松开工件。需要注意的是减速机轴和气缸轴的同轴度,可以做一个U型架来定位以保证同轴。由于工件需要顶紧后旋转,因此要在气缸轴端装一个可旋转顶尖或用平面轴承自制。焊枪的调整机构可以在U型架侧面做小型机械滑台,可以小范围3维调节。控制部分根据需要,简单一点的用变频器控制转速时间继电器控制焊接时间,复杂些的可以做到全自动多工位装夹多工位焊接:工件在机台外安装-进入焊接区域-焊枪自动找正-焊接-到设定条件焊接结束-退料同时再次装料。# Q3 p; r9 t0 T7 s" ?
两种方式都做过,那个简单的方案做好后使用效果很好于是又做了一台全自动的,效率提高好多
3 W- f8 W2 w' T改天再传点图纸看看就明白了

评分

参与人数 1三维币 +5 收起 理由
渔樵 + 5 详细!

查看全部评分

发表于 2008-8-25 21:29:29 | 显示全部楼层 来自: 中国广东深圳
各位大哥,小弟受教了
发表回复
您需要登录后才可以回帖 登录 | 注册

本版积分规则


Licensed Copyright © 2016-2020 http://www.3dportal.cn/ All Rights Reserved 京 ICP备13008828号

小黑屋|手机版|Archiver|三维网 ( 京ICP备2023026364号-1 )

快速回复 返回顶部 返回列表