QQ登录

只需一步,快速开始

登录 | 注册 | 找回密码

三维网

 找回密码
 注册

QQ登录

只需一步,快速开始

展开

通知     

全站
10天前
查看: 2289|回复: 11
收起左侧

[分享] 一种微调镗刀

 关闭 [复制链接]
发表于 2008-7-11 09:39:54 | 显示全部楼层 |阅读模式 来自: 中国江苏淮安

马上注册,结识高手,享用更多资源,轻松玩转三维网社区。

您需要 登录 才可以下载或查看,没有帐号?注册

x
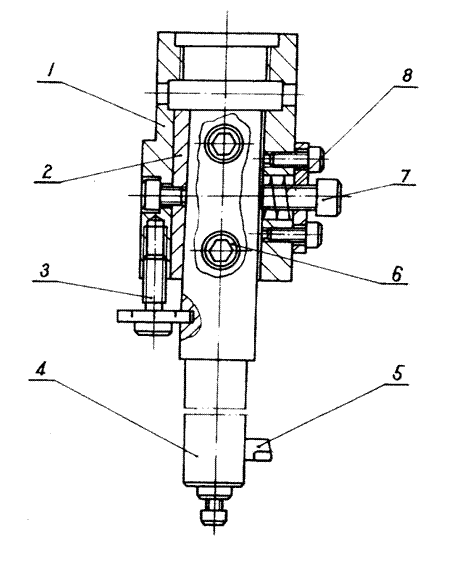
一种微调镗刀
1.gif

一种微调镗刀.rar

186.72 KB, 下载次数: 133

评分

参与人数 1三维币 +2 收起 理由
zyj10282005 + 2 好资料,感谢对论坛的支持!

查看全部评分

发表于 2008-7-11 10:41:51 | 显示全部楼层 来自: 中国山东烟台
谢谢你的分享,版主要给与加分,这是专利呀
发表于 2008-7-11 22:20:23 | 显示全部楼层 来自: 中国湖北宜昌
最好还加一侧视图,能使更多的朋友一目了然。
发表于 2008-7-12 00:24:51 | 显示全部楼层 来自: 中国台湾
請問能微调到甚麼程度?
发表于 2008-7-12 11:35:41 | 显示全部楼层 来自: 中国河北廊坊
下载看看 , 谢谢共享.
发表于 2008-7-28 22:33:06 | 显示全部楼层 来自: 中国广东江门
从图来看,保守估计可以达到0.03
发表于 2008-8-9 02:53:26 | 显示全部楼层 来自: 美国
很感兴趣,下来看看,谢谢
发表于 2008-8-9 17:37:35 | 显示全部楼层 来自: 中国广东广州
微调精度0.005mm
发表于 2008-8-12 14:04:36 | 显示全部楼层 来自: 中国江苏无锡
改进一下更好用.把微调螺丝换成基米螺丝,减小直径.其实微调螺丝在圆周三等分分布就可以.下面的装刀方式再增加一种,垂直的单刃搪刀.这种刀把已经很多了.
发表于 2008-8-13 16:37:01 | 显示全部楼层 来自: 中国广东深圳
原帖由 liweisky 于 2008-8-9 17:37 发表 http://www.3dportal.cn/discuz/images/common/back.gif
. T5 P/ Q. Z- T微调精度0.005mm
有这么高的精度?
发表于 2008-8-13 21:07:09 | 显示全部楼层 来自: 中国湖北武汉
請問能微调到甚麼程度!
发表于 2008-8-13 21:17:33 | 显示全部楼层 来自: 中国湖南株洲

不错,有高度

很 不错的 东西     谢谢
发表回复
您需要登录后才可以回帖 登录 | 注册

本版积分规则


Licensed Copyright © 2016-2020 http://www.3dportal.cn/ All Rights Reserved 京 ICP备13008828号

小黑屋|手机版|Archiver|三维网 ( 京ICP备2023026364号-1 )

快速回复 返回顶部 返回列表