QQ登录

只需一步,快速开始

登录 | 注册 | 找回密码

三维网

 找回密码
 注册

QQ登录

只需一步,快速开始

展开

通知     

全站
9天前
查看: 1309|回复: 1
收起左侧

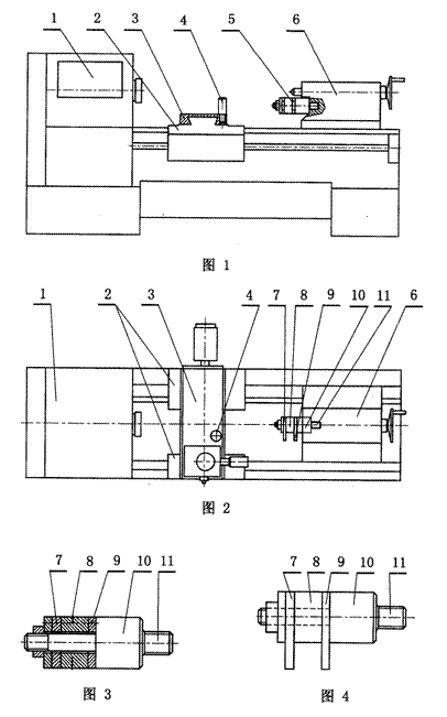
[分享] 能使尾座自动进给的车床

 关闭 [复制链接]
发表于 2008-7-10 14:14:45 | 显示全部楼层 |阅读模式 来自: 中国江苏淮安

马上注册,结识高手,享用更多资源,轻松玩转三维网社区。

您需要 登录 才可以下载或查看,没有帐号?注册

x
能使尾座自动进给的车床
$ @0 |" f" ?* @% w) f( w
  [6 W4 m3 [. J[ 本帖最后由 tiantian88 于 2008-7-12 10:12 编辑 ]
1.gif
2.gif

能使尾座自动进给的车床.rar

472.17 KB, 下载次数: 26

发表于 2008-7-11 22:22:27 | 显示全部楼层 来自: 中国湖北宜昌
最好还加一侧视图,能使更多的朋友一目了然。
发表回复
您需要登录后才可以回帖 登录 | 注册

本版积分规则


Licensed Copyright © 2016-2020 http://www.3dportal.cn/ All Rights Reserved 京 ICP备13008828号

小黑屋|手机版|Archiver|三维网 ( 京ICP备2023026364号-1 )

快速回复 返回顶部 返回列表