QQ登录

只需一步,快速开始

登录 | 注册 | 找回密码

三维网

 找回密码
 注册

QQ登录

只需一步,快速开始

展开

通知     

查看: 1613|回复: 3
收起左侧

[已解决] 关于装配图生成工程图

[复制链接]
发表于 2008-7-3 10:57:56 | 显示全部楼层 |阅读模式 来自: 中国浙江温州

马上注册,结识高手,享用更多资源,轻松玩转三维网社区。

您需要 登录 才可以下载或查看,没有帐号?注册

x
关于装配图生成工程图) ?' D* s3 _" @$ T9 D( x
(UG6.0软件)
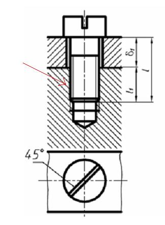
" R7 G+ c* ?: F3 `( ?  L7 n最近遇到个问题很迷惑,希望得到高手的指点:在一个板上打个M12的标准螺纹孔,然后和一个M12的螺栓装配起来,转化为工程图,$ X$ f- A6 }5 _) V/ U
由于螺纹孔M12的内孔径为9的原因,所以在工程图纸上反应出来是板将螺栓的一部分档住。
- q9 [! h9 i% M: t若是把M12改成直孔,则一切正常。
' F, i& A: c8 h0 }8 I不知道有没有办法在保持M12螺纹孔的同时,使得工程图螺杆不会被挡住,请高手们指点!谢谢; P+ W2 W" R7 `) F) D4 _
如果需要调节某个设置,请说明详细路径.
发表于 2008-7-4 00:51:18 | 显示全部楼层 来自: 中国河北沧州
装配后应该是这种效果吧,内螺纹螺纹线就看不见了。UG出图时只剖螺母不剖螺柱应该就是这种效果吧!
1.JPG
 楼主| 发表于 2008-7-5 08:55:02 | 显示全部楼层 来自: 中国浙江温州
只剖螺母不剖螺柱,是怎么做到的,给个详细的步骤好吗?
发表于 2008-7-5 19:39:14 | 显示全部楼层 来自: 中国河北沧州
只要你是用装配做的就可以呀!
5 v3 W' }& R% V+ K最起码不剖的螺栓是个单独的装配组件。这样你出图的时候先将螺栓、螺母一同剖开,再用这个功能把螺栓定义成非剖组件!(定义完了注意更新视图哦
1.JPG
发表回复
您需要登录后才可以回帖 登录 | 注册

本版积分规则


Licensed Copyright © 2016-2020 http://www.3dportal.cn/ All Rights Reserved 京 ICP备13008828号

小黑屋|手机版|Archiver|三维网 ( 京ICP备2023026364号-1 )

快速回复 返回顶部 返回列表