QQ登录

只需一步,快速开始

登录 | 注册 | 找回密码

三维网

 找回密码
 注册

QQ登录

只需一步,快速开始

展开

通知     

全站
7天前
查看: 1758|回复: 2
收起左侧

[求助] 求助此地脚螺栓的结构是怎样的?(附图)

[复制链接]
发表于 2008-6-11 19:08:30 | 显示全部楼层 |阅读模式 来自: 中国江苏南通

马上注册,结识高手,享用更多资源,轻松玩转三维网社区。

您需要 登录 才可以下载或查看,没有帐号?注册

x
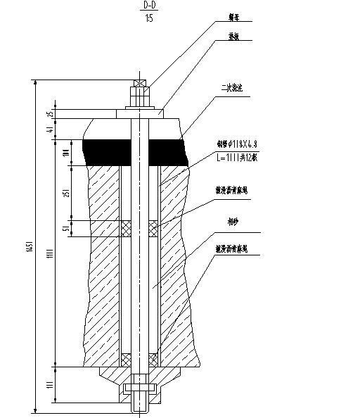
此地脚螺栓为双头螺纹的,上头用双螺母并紧,不知下部是什么结构?/ _6 Q  g) A1 H& B3 w/ M
此地脚螺栓多用于重型机械的固定的,国标的地脚与此不同,是T形的.3 {4 S& B  p- c- |% j( O+ P
望哪位大侠不吝赐教,不胜感激!
2 Q: V$ A7 N7 C
3 I+ M6 X1 b# Q0 g( f[ 本帖最后由 havcy 于 2008-6-11 19:10 编辑 ]
地脚螺栓.JPG

评分

参与人数 1三维币 +3 收起 理由
z6z6j6 + 3 好资料,感谢对论坛的支持!

查看全部评分

发表于 2008-6-12 09:48:13 | 显示全部楼层 来自: 中国辽宁朝阳
我认为,本地脚螺栓是双头螺纹,下部用一螺母,在浇注时将此螺母下在里面,此时螺母已固定;二次浇注后,从上面将螺柱拧入即可,完全可以达到以前常用的T型螺栓的作用,和T型螺栓相比较,这样作的目地是可以节约原料,简化加工工序.不知对否?
发表于 2008-6-12 10:36:46 | 显示全部楼层 来自: 中国山西太原
地脚螺栓下部在混凝土板下加了一块T型槽联接板(见下图),下螺母是T型螺母卡在T型槽中,双头螺栓从上部穿过套管拧入位于T形槽中的螺母,再拧紧上面的二个锁紧螺母。中间的浸沥青的麻绳起到固定并具有弹性的作用。
地脚螺栓.jpg
发表回复
您需要登录后才可以回帖 登录 | 注册

本版积分规则


Licensed Copyright © 2016-2020 http://www.3dportal.cn/ All Rights Reserved 京 ICP备13008828号

小黑屋|手机版|Archiver|三维网 ( 京ICP备2023026364号-1 )

快速回复 返回顶部 返回列表