QQ登录

只需一步,快速开始

登录 | 注册 | 找回密码

三维网

 找回密码
 注册

QQ登录

只需一步,快速开始

展开

通知     

查看: 1446|回复: 1
收起左侧

[求助] 这样的图纸怎样生成立体图

[复制链接]
发表于 2008-5-24 21:56:25 | 显示全部楼层 |阅读模式 来自: 中国北京

马上注册,结识高手,享用更多资源,轻松玩转三维网社区。

您需要 登录 才可以下载或查看,没有帐号?注册

x
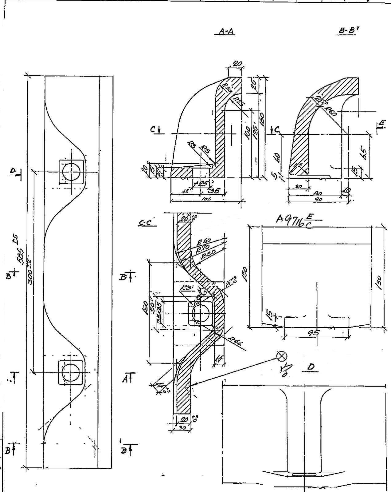
我公司接到加拿大一家公司的图纸,其中一张不会画立体图,跪求高手帮助.

图纸

图纸
 楼主| 发表于 2008-5-24 22:10:57 | 显示全部楼层 来自: 中国北京
如果可以恳求高手发至wx-999@163.com,多谢,期待.
发表回复
您需要登录后才可以回帖 登录 | 注册

本版积分规则


Licensed Copyright © 2016-2020 http://www.3dportal.cn/ All Rights Reserved 京 ICP备13008828号

小黑屋|手机版|Archiver|三维网 ( 京ICP备2023026364号-1 )

快速回复 返回顶部 返回列表