QQ登录

只需一步,快速开始

登录 | 注册 | 找回密码

三维网

 找回密码
 注册

QQ登录

只需一步,快速开始

展开

通知     

全站
10天前
查看: 1758|回复: 3
收起左侧

[已答复] 减速器中高速轴与电动机是怎么联接的

[复制链接]
发表于 2008-5-21 00:20:58 | 显示全部楼层 |阅读模式 来自: 中国重庆

马上注册,结识高手,享用更多资源,轻松玩转三维网社区。

您需要 登录 才可以下载或查看,没有帐号?注册

x
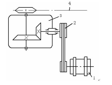
我做毕业设计其图如下 其中减速器中高速轴与电动机是怎么联接的,是通过连轴器连接的,还是直接连接的
1.jpg
发表于 2008-5-21 00:36:02 | 显示全部楼层 来自: 中国山东泰安

回复 1# 的帖子

图中不是画着带传动,还要啥联轴器?皮带轮可直接安装在输入轴上,如果皮带张紧力大可以考虑卸荷机构。不过一般减速箱就免了。
发表于 2008-5-21 08:48:57 | 显示全部楼层 来自: 中国黑龙江佳木斯
图中连接叫皮带连接。
6 r6 o0 @: S3 Q# S1.可以使用皮带做一级粗略的减速。
5 a" Q9 `1 {. G  n- C2.可以保护减速器不被因功率大或负荷大而损坏。皮带可以打滑保护进行设备。+ ^# m2 V& ^8 t( l
3.电机与设备距离可以粗略的进行调整。
发表于 2008-5-21 09:02:04 | 显示全部楼层 来自: 中国北京
减速机与电机的连接形式一般有:7 C8 ]  c! G) g1 J' ~" R3 A: _! l
1  弹性联轴器连接,这是最常用的形式。; R% q8 }  d) i+ E) |
2  带制动装置的联轴器连接,在仃车时可防止设备由于重力作用发生倒转。
0 P! I, ?# S4 b) b2 P3  V带传动连接,在减速机的减速比达不到设计的精确要求时,或传动需要较大的自由度时,V带传动可补偿要求。
发表回复
您需要登录后才可以回帖 登录 | 注册

本版积分规则


Licensed Copyright © 2016-2020 http://www.3dportal.cn/ All Rights Reserved 京 ICP备13008828号

小黑屋|手机版|Archiver|三维网 ( 京ICP备2023026364号-1 )

快速回复 返回顶部 返回列表