QQ登录

只需一步,快速开始

登录 | 注册 | 找回密码

三维网

 找回密码
 注册

QQ登录

只需一步,快速开始

展开

通知     

查看: 2847|回复: 16
收起左侧

[求助] 沟槽和O型圈

[复制链接]
发表于 2008-3-27 11:17:29 | 显示全部楼层 |阅读模式 来自: 中国浙江宁波

马上注册,结识高手,享用更多资源,轻松玩转三维网社区。

您需要 登录 才可以下载或查看,没有帐号?注册

x
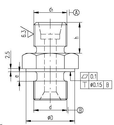
在设计时碰到沟槽和O型圈的问题。
O型圈1.JPG
发表于 2008-3-27 16:00:42 | 显示全部楼层 来自: 中国河北沧州
楼主可以查找O型圈样本,样本中对O型的沟槽尺寸有尺寸要求。
发表于 2008-3-27 16:18:53 | 显示全部楼层 来自: 中国江苏常州
楼主那个位置不对吧,应该在端面上的
发表于 2008-3-27 16:56:36 | 显示全部楼层 来自: 中国江西九江
楼主那个位置不对吧???9 D6 @% l6 t5 d
我觉得应该在端面上的

评分

参与人数 1三维币 -2 收起 理由
柠檬咖啡 -2 复制他人发言

查看全部评分

发表于 2008-3-27 17:50:04 | 显示全部楼层 来自: 中国江苏常州
直接用个组合垫圈不就行了,我的管接头全是用组合垫的
发表于 2008-3-27 18:10:49 | 显示全部楼层 来自: 中国上海
这样的管接头可以参考JB/T966-2006《用于流体传动和一般用途的金属管接头O形圈平面密封接头》,其中的O形密封圈采用GB/T3452.1中规定的O形密封圈。- D/ D: A! }( w0 d, z
标注中槽的尺寸和O形圈规格都有。
" K$ ?4 e! Q" i1 G* P+ `标准下载:
5 _5 m. {+ R" {+ Khttp://www.3dportal.cn/discuz/vi ... &highlight=966-20050 P( k) C! I! S1 d
2 e  Y1 m# y, D( O  s8 ~, r+ Q  E* S
[ 本帖最后由 lhf999 于 2008-3-27 18:15 编辑 ]
tu24.JPG

评分

参与人数 1三维币 +3 收起 理由
柠檬咖啡 + 3 应助

查看全部评分

发表于 2008-3-27 21:36:14 | 显示全部楼层 来自: 中国安徽淮北
一定要找接头的样本,现在比较出名的接头是永华、PARKER、EMB。样本在论坛里有。+ i# Q+ ?+ R" }
找到接头以后,接头有推荐的o型圈规格。接头是标准件,就不要自己设计了。
 楼主| 发表于 2008-4-3 12:25:04 | 显示全部楼层 来自: 中国浙江宁波

回复 6# 的帖子

网址打不开的,请再给一次好吗?
发表于 2008-4-3 19:47:15 | 显示全部楼层 来自: 中国上海
6楼链接失效,不能重新编辑了,再给一次:
. I/ I2 f' f" Ghttp://www.3dportal.cn/discuz/vi ... ;highlight=966-2005

评分

参与人数 1三维币 +2 收起 理由
自流井 + 2 应助

查看全部评分

头像被屏蔽
发表于 2008-8-30 17:23:12 | 显示全部楼层 来自: 中国广东深圳
提示: 作者被禁止或删除 内容自动屏蔽
发表于 2008-8-30 22:00:48 | 显示全部楼层 来自: 荷兰
回10楼,有螺纹要装O型圈的话要采用保护套,这样可以避免损伤O圈。) I( ^  v& ]) h6 D6 q3 y4 l
组合垫没有O圈密封效果好,毕竟组合垫的橡胶才多少,橡胶的特性发挥作用不明显,不过采用O圈的话,沟槽加工要求高多了,正如6楼所示的图。* z3 Y* ~$ F9 R+ P) X  _, }8 }
其实选什么不重要,只要不漏油就行。(这个观点是错误的,没有精益求精的意愿。只是本人所在公司是这样的质量态度
发表于 2008-8-31 14:06:23 | 显示全部楼层 来自: 中国山东济南
原帖由 syxplc 于 2008-3-27 16:18 发表 http://www.3dportal.cn/discuz/images/common/back.gif- j! L: V: Z3 N* _
楼主那个位置不对吧,应该在端面上的
3 U7 J# }% V. G9 f( {
) o5 ~- W' }; Q8 N% R) P, w
常用的有平面密封和锥密封型式
3 F! m* V2 ~# c& C% M楼主的是锥密封型式的ADAPTER: ^6 |8 L: }6 }  T1 N- i6 O7 v
派克样本上的有O型圈对应的沟槽尺寸
发表于 2008-8-31 14:10:16 | 显示全部楼层 来自: 中国山东济南
原帖由 lhf999 于 2008-4-3 19:47 发表 http://www.3dportal.cn/discuz/images/common/back.gif
8 _8 Q' q- Q8 C# g) q/ n9 J6楼链接失效,不能重新编辑了,再给一次:
0 [- Z1 H# n4 \! Hhttp://www.3dportal.cn/discuz/viewthread.php?tid=197105&highlight=966-2005
7 M2 l4 D8 E2 B9 B& x9 n+ l, }
9 N6 F2 ]9 e+ g$ N* D
这个版主给加分就不对吧% G( u) p+ C! a4 y& u
1 p* |  ~) ]) b9 [* k* e/ P6 g
楼主要锥密封的,他给个平面密封的就加分啊?2 J- |0 @6 v3 i: _7 d
) D3 |' I( j# x4 K. R
具体尺寸问接头加工厂家都有的
% d2 }  T6 V: H8 }
3 c8 `3 l$ Z& ~8 S0 A4 q1 g[ 本帖最后由 real312 于 2008-8-31 14:12 编辑 ]
未命名.JPG
头像被屏蔽
发表于 2008-8-31 16:45:12 | 显示全部楼层 来自: 中国广东深圳
提示: 作者被禁止或删除 内容自动屏蔽
发表于 2008-8-31 21:41:50 | 显示全部楼层 来自: 中国四川成都
原因很简单,如果直接以螺纹退刀槽面为密封面的话,势必要求密封圈的大径比螺纹直径小,这样就在装配的时候有切密封圈的可能;
( H) C( H0 ]. c0 w7 s6 [$ x但是如图上所示就不同了,把密封槽开在端面上,可以将密封圈的大径做得比螺纹直径大了,这样密封圈在装配时就不会遭切了啊!只是这样就加工困难一点哦!有所得,必有所失!
发表于 2008-8-31 22:30:45 | 显示全部楼层 来自: 中国江苏无锡
受教了翱瞻
发表于 2008-8-31 22:40:23 | 显示全部楼层 来自: 中国江苏无锡
真的受教了,有高手指点,就是如沐春风啊
发表回复
您需要登录后才可以回帖 登录 | 注册

本版积分规则


Licensed Copyright © 2016-2020 http://www.3dportal.cn/ All Rights Reserved 京 ICP备13008828号

小黑屋|手机版|Archiver|三维网 ( 京ICP备2023026364号-1 )

快速回复 返回顶部 返回列表