QQ登录

只需一步,快速开始

登录 | 注册 | 找回密码

三维网

 找回密码
 注册

QQ登录

只需一步,快速开始

展开

通知     

全站
11天前
查看: 2250|回复: 3
收起左侧

[已答复] 麻烦大家帮忙提供压力机型号表

[复制链接]
发表于 2008-3-27 09:12:39 | 显示全部楼层 |阅读模式 来自: 美国

马上注册,结识高手,享用更多资源,轻松玩转三维网社区。

您需要 登录 才可以下载或查看,没有帐号?注册

x
想用于冲压模具的,但一直不清楚压力机的选型!% ?( i0 ], @3 F, K
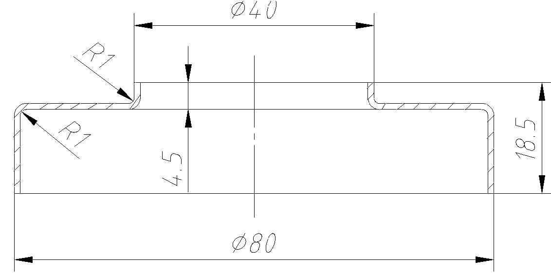
是用于下图冲压件的制造

冲压件

冲压件
发表于 2008-3-27 09:46:58 | 显示全部楼层 来自: 中国山东烟台
需要料厚与材料,计算出冲裁力。落料冲孔+翻边

评分

参与人数 1三维币 +3 收起 理由
阿帕奇 + 3

查看全部评分

头像被屏蔽
发表于 2008-3-27 15:28:30 | 显示全部楼层 来自: 中国河北衡水
提示: 作者被禁止或删除 内容自动屏蔽
发表于 2008-3-28 12:39:30 | 显示全部楼层 来自: 中国吉林长春
厚一点的料,20吨压床,可一次成型
发表回复
您需要登录后才可以回帖 登录 | 注册

本版积分规则


Licensed Copyright © 2016-2020 http://www.3dportal.cn/ All Rights Reserved 京 ICP备13008828号

小黑屋|手机版|Archiver|三维网 ( 京ICP备2023026364号-1 )

快速回复 返回顶部 返回列表