QQ登录

只需一步,快速开始

登录 | 注册 | 找回密码

三维网

 找回密码
 注册

QQ登录

只需一步,快速开始

展开

通知     

全站
9天前
查看: 1392|回复: 1
收起左侧

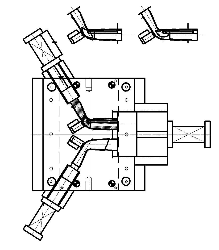
[分享] 转:超牛的转动抽芯,不看后悔!

[复制链接]
发表于 2008-3-21 22:21:38 | 显示全部楼层 |阅读模式 来自: 中国浙江宁波

马上注册,结识高手,享用更多资源,轻松玩转三维网社区。

您需要 登录 才可以下载或查看,没有帐号?注册

x
转:超牛的转动抽芯,不看后悔!做人要厚道!下了就要顶!呵呵! titter
" E& i$ m* I4 {) @+ L1 o
# p% a; O9 a* |1 p  Z  y

超牛的转动抽芯.rar

559.96 KB, 下载次数: 18

评分

参与人数 1三维币 +4 收起 理由
听雨轩 + 4 好资料,感谢对论坛的支持!

查看全部评分

发表于 2008-3-22 10:25:58 | 显示全部楼层 来自: 中国广东中山
贴图
1.jpg
2.jpg
发表回复
您需要登录后才可以回帖 登录 | 注册

本版积分规则


Licensed Copyright © 2016-2020 http://www.3dportal.cn/ All Rights Reserved 京 ICP备13008828号

小黑屋|手机版|Archiver|三维网 ( 京ICP备2023026364号-1 )

快速回复 返回顶部 返回列表