QQ登录

只需一步,快速开始

登录 | 注册 | 找回密码

三维网

 找回密码
 注册

QQ登录

只需一步,快速开始

展开

通知     

全站
10天前
查看: 2187|回复: 7
收起左侧

[求助] 液压马达如何制动

[复制链接]
发表于 2008-3-18 10:11:29 | 显示全部楼层 |阅读模式 来自: 中国河北保定

马上注册,结识高手,享用更多资源,轻松玩转三维网社区。

您需要 登录 才可以下载或查看,没有帐号?注册

x
液压马达有带制动的,不知道结构,有知道的朋友指导一下
发表于 2008-3-18 12:06:30 | 显示全部楼层 来自: 中国浙江宁波
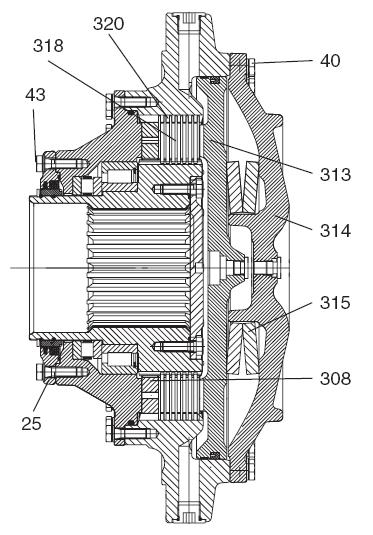
液压马达+湿式多片静态制动器即可实现制动,由动、静摩擦片、刹车弹簧、开启油缸组成;
发表于 2008-3-18 14:18:14 | 显示全部楼层 来自: 中国河南南阳
竟然还有动静摩擦片?就是说靠摩擦制动了,摩擦部分在什么位置呢?
发表于 2008-3-18 17:30:21 | 显示全部楼层 来自: 中国四川成都
有部分马达制动器图,可参考一下,再看看关于液压马达的资料。http://www.3dportal.cn/discuz/viewthread.php?tid=464600&extra=page%3D12 G& H: M* L, h5 F5 u

5 c3 t! ~8 o8 ?1 T2 _& K' `; C1 A[ 本帖最后由 cdxwg 于 2008-3-18 17:33 编辑 ]
1.JPG
2.JPG
3.JPG
4.JPG
 楼主| 发表于 2008-3-19 12:50:59 | 显示全部楼层 来自: 中国河北保定
太长知识了,感谢各位了
发表于 2008-3-19 13:57:31 | 显示全部楼层 来自: 中国河南南阳
以前问做液压系统的说,没有油压了,马达自动就不会走了,这个说法对吗?
发表于 2008-3-19 21:37:12 | 显示全部楼层 来自: 中国浙江宁波

回复 6# 的帖子

原则上没有油,马达是不会走了的,但马达有内泄,; R5 b/ n0 I( e
也就是说,如果可能的话,外力是会有带动马达转的驱势,这时,一定的内泄会使马达油路贯通,3 ^, F4 z" Z  v% D
这样的话,马达就会动起来.
, r: b1 x: z' E* z' L. A! C* T所以上面所述的多片式制动其实就是停车制动,动态制动还是要靠开式系统里的阀或闭式系统里的泵来实现.
发表于 2008-3-20 11:40:28 | 显示全部楼层 来自: 中国浙江宁波

8

以上是停车制动,那么行走制动在挖掘机上是通过什么实现的?请讲解。7 A% ^) f( k4 S+ o
还有解释一下静态制动与动态制动的不同点与相同点。
发表回复
您需要登录后才可以回帖 登录 | 注册

本版积分规则


Licensed Copyright © 2016-2020 http://www.3dportal.cn/ All Rights Reserved 京 ICP备13008828号

小黑屋|手机版|Archiver|三维网 ( 京ICP备2023026364号-1 )

快速回复 返回顶部 返回列表