QQ登录

只需一步,快速开始

登录 | 注册 | 找回密码

三维网

 找回密码
 注册

QQ登录

只需一步,快速开始

展开

通知     

全站
9天前
查看: 4409|回复: 27
收起左侧

[讨论] 此轴磨削为何出现此怪现象

[复制链接]
发表于 2007-12-14 11:20:58 | 显示全部楼层 |阅读模式 来自: 中国山东潍坊

马上注册,结识高手,享用更多资源,轻松玩转三维网社区。

您需要 登录 才可以下载或查看,没有帐号?注册

x
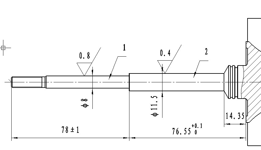
如图所示,此轴在同台设备上对轴1、2分别磨削加工,加工余量在0.2mm,轴硬度在HRC40左右,如先磨轴1,合格,再磨轴2,合格,复测轴1,跳动大不合格,反之亦然,进行了中心孔研磨和设备检测,皆无问题,原先如此加工无问题,为何出现此怪现象,磨前轴跳动在0.1mm左右,一直不能找到原因和得到解决,请各位高手指点迷津
7 V) t1 h7 s7 F7 e* {% _  ?; v. {- A6 A9 w
[ 本帖最后由 zej1200 于 2007-12-14 11:27 编辑 ]

jpeg

jpeg

评分

参与人数 1三维币 +5 收起 理由
清风明月008 + 5 好的讨论题

查看全部评分

发表于 2007-12-14 12:09:13 | 显示全部楼层 来自: 中国浙江宁波

回复 1# 的帖子

楼主是否考虑一下磨床进给量和液体散热,也包括加工工艺及顶针弹簧的压力问题。因为你加工工件只有8mm如果你先磨1端而它的直径较小,如果操作工为了提高加工速度而加大进给量就势必工件温升过高,虽然有冷却液降温,但是你所降温的部分可能只在所加工的位置,部分热量还是要通过1区散发出去,这样一来可能会引起微量变形。另外顶针压力过小大的进给量会使工件有微量的让刀而导致上述现象发生。2 V+ J, B' e' F; R
你可以考虑先磨2端再磨1端,并减小进给量,加大冷却液的流量使其充满整个工件来降低工件温度。

评分

参与人数 1三维币 +3 收起 理由
清风明月008 + 3 应助

查看全部评分

发表于 2007-12-14 12:10:44 | 显示全部楼层 来自: 中国江苏常州
材料残余应力大了吧,去应力处理后试试。

评分

参与人数 1三维币 +1 收起 理由
清风明月008 + 1 应助

查看全部评分

 楼主| 发表于 2007-12-14 12:24:38 | 显示全部楼层 来自: 中国山东潍坊
先磨2端再磨1端,并减小进给量,加大冷却液的流量使其充满整个工件来降低工件温度,此方法试过效果不明显。
8 B: G9 S2 z8 `我原先的加工工艺先磨轴1或2,再磨另一轴未出现此情况,现在突然出现此现象不能解释
, ]$ j3 X8 u: m$ {$ v$ k2 _, R) I0 c7 @4 X/ Y# G) E
[ 本帖最后由 zej1200 于 2007-12-14 12:26 编辑 ]
发表于 2007-12-14 12:32:45 | 显示全部楼层 来自: 中国河北廊坊
注意走刀速度,和进给量的大小!1 h( w4 O# T6 e3 A. `# f, d
否则应力集中比较厉害!

评分

参与人数 1三维币 +1 收起 理由
清风明月008 + 1 应助

查看全部评分

发表于 2007-12-14 14:20:44 | 显示全部楼层 来自: 中国安徽合肥
1.材料去应力处理;2.重新修整砂轮;3.充分冷却,

评分

参与人数 1三维币 +1 收起 理由
清风明月008 + 1 应助

查看全部评分

发表于 2007-12-14 15:38:34 | 显示全部楼层 来自: 中国山西太原
此轴细而长,刚性较差,在磨削过程中是否有微量变形或振动,试一试减小走刀量和进给深度,并有效冷却。

评分

参与人数 1三维币 +2 收起 理由
清风明月008 + 2 应助

查看全部评分

发表于 2007-12-14 19:32:47 | 显示全部楼层 来自: 中国江苏常州
我认为是热处理问题的遗留问题。  f2 w% p5 a- X
还有可以做个夹具- p6 V+ ]: b4 I+ O
在磨好1后,一1为基准夹住磨2: _! D- G7 v4 z' P0 ^) @! D
这个刚度好,精度也好。, o7 ]9 z" S2 S& S

# r5 Q  g5 \0 d1 r/ S' r6 X+ ][ 本帖最后由 eastlakewater 于 2007-12-14 19:36 编辑 ]

评分

参与人数 1三维币 +2 收起 理由
清风明月008 + 2 应助

查看全部评分

发表于 2007-12-14 19:51:24 | 显示全部楼层 来自: 中国湖北武汉
是否你的中心孔钻浅了?
发表于 2007-12-14 21:57:07 | 显示全部楼层 来自: 中国辽宁大连
我认为肯定不是中心孔浅的问题,因为楼主说了“先磨轴1,合格,再磨轴2,合格,复测轴1,跳动大不合格”。
- o4 n1 @" J% k2 { 本人认为:& `: Y4 o- e6 ]7 k8 O1 Q" ^
  1根据材料力学的有关知识,我认为磨削过程中细长轴受交变应力作用发生了变形,应该减小磨量(减小弯矩),充分冷却。先加工细轴,再加工粗轴,刚性可能好点。
4 `' _# }2 V: S   2材料残余应力大,去应力处理

评分

参与人数 1三维币 +3 收起 理由
清风明月008 + 3 应助

查看全部评分

 楼主| 发表于 2007-12-15 08:55:51 | 显示全部楼层 来自: 中国山东潍坊
我公司已进行的试验为:
' c) w  S6 w# P3 F1、研磨中心孔;2 I1 u- s  Q$ L4 _2 {" M! M
2、设备检修;* b7 z" h. u$ D- L. z4 D# [: m% [7 E* D
3、加大冷却;  ]/ Y1 r4 O4 Q3 u4 Q
4、减少进给量;
$ H5 O! g7 ^+ d6 E9 y$ g2 w5、分粗精磨。% I' t* P: w$ w7 b$ g; o$ Y1 }
皆未能很好地解决此问题

评分

参与人数 1三维币 +2 收起 理由
清风明月008 + 2 技术讨论

查看全部评分

发表于 2007-12-15 09:41:21 | 显示全部楼层 来自: 中国安徽合肥
原帖由 zej1200 于 2007-12-15 08:55 发表 http://www.3dportal.cn/discuz/images/common/back.gif
, G! y% t: h' Q我公司已进行的试验为:8 h) K' {  q) F! r- I
1、研磨中心孔;
& Y. ]* \0 E: ?, p: s# z9 _2、设备检修;* S9 K& F3 M+ [8 A% z# H, |7 [1 U5 X
3、加大冷却;
) `" p- Q; \, l" {0 M5 o1 l4、减少进给量;/ k$ T+ O0 m- R  A
5、分粗精磨。: }. d2 y4 A' X0 j( G$ U
皆未能很好地解决此问题

6 y# Z' d' v4 R6 G; \# b* k  ?6 U( ^还是那句话:材料去应力处理——人工时效。

评分

参与人数 1三维币 +1 收起 理由
清风明月008 + 1 应助

查看全部评分

发表于 2007-12-15 19:51:40 | 显示全部楼层 来自: 中国黑龙江佳木斯
设备应该没有问题,关键是工艺问题,是否在精磨前加一粗磨,在精车前加一调质处理,再在精车前加一研磨中心孔,最大限度的去除材料的应力,改善材料的切削加工性能.
发表于 2007-12-15 22:59:43 | 显示全部楼层 来自: 中国河北保定
仔细查一查以前时效工艺与现在有没有什么区别。
 楼主| 发表于 2007-12-16 08:03:25 | 显示全部楼层 来自: 中国山东潍坊
此材料调质处理后打中心孔,精车,磨削,设备等未动,原未出问题,现在突然出现此问题,进行大量试验未找到原因和解决之道
' C7 e% `$ K8 Y" i8 h$ y; A; A
' X% C0 R% B# C  d: a, C, Y[ 本帖最后由 zej1200 于 2007-12-16 08:05 编辑 ]
发表于 2007-12-16 11:05:17 | 显示全部楼层 来自: 中国山东济宁
直径不同,都特别细,磨轴2时震动大,导致轴1变形,建议先磨轴2
发表于 2007-12-16 11:31:28 | 显示全部楼层 来自: 中国江西景德镇
楼主应该从大尺寸先磨,小尺寸后磨,工件应力的原因,中间受力大。

评分

参与人数 1三维币 +2 收起 理由
清风明月008 + 2 应助

查看全部评分

发表于 2007-12-16 17:06:50 | 显示全部楼层 来自: 中国上海
轴类零件加工中变形通常与热处理后的残余应力及材料的组织不均匀有关,特别是加工此类细长轴问题就比较突出,因此加エ该轴除了要尽可能消除残余应力外,磨削时亦应分别迸行粗、精磨,粗、精磨间隔时间48小时以上,精磨余量应大于你现在的最大变形量。

评分

参与人数 1三维币 +3 收起 理由
清风明月008 + 3 应助

查看全部评分

发表于 2007-12-17 07:49:20 | 显示全部楼层 来自: 中国浙江台州
楼主,这样的工件我曾经碰到过,你们在产品调质处理前,必须正火处理,并且在车削后进行去应力退火.尽量消除产品内应力,磨削时顶针不能顶得过紧,分粗\精磨,这样问题就不会产生了!
) g3 `8 H$ r8 U- y1 L5 j8 T. B正火金相(2-4级)必须消除带状魏氏组织.

评分

参与人数 1三维币 +2 收起 理由
清风明月008 + 2 应助

查看全部评分

发表于 2007-12-20 22:34:49 | 显示全部楼层 来自: 中国安徽淮北

回复 13# 的帖子

本人建议的方案是:增加中心架支撑,最好先加工轴2,同时,增大工的加工余量,磨削分为第一粗磨,第二粗磨,精磨和光磨.降低工件转速.因为我加工的凸轮轴,都要有中心架的,热处理这块确实不熟悉,但一点是可以肯定的,工件变形了.建议,加工完后,先在磨床上进行跳动检测

评分

参与人数 1三维币 +2 收起 理由
清风明月008 + 2 应助

查看全部评分

 楼主| 发表于 2007-12-22 17:22:49 | 显示全部楼层 来自: 中国山东潍坊
此问题,我们采用先粗磨2,再精磨2和精磨1跳动便符合要求的方法解决,问题是工艺、材料等要求未发生改变,不知出现此问题的根本原因,这是求助的主要目的
发表于 2007-12-29 16:39:53 | 显示全部楼层 来自: 中国北京
个人认为问题出在砂轮,或者修整轮上,注意一下修整时的砂轮和修整轮线速度,修整后砂轮磨削后零件表面质量是什么状态,如太好调整砂轮修整速度和线速度
发表于 2007-12-30 10:41:07 | 显示全部楼层 来自: 中国江苏南京
同意22楼的意见,砂轮质量对工件加工质量有很大影响,采用金刚笔还是金刚滚轮修正,砂轮休整速度和休整进给量都有很大关系
发表于 2008-3-1 09:57:09 | 显示全部楼层 来自: 中国江苏镇江
分粗精,先中后边,精磨时减少尾座顶尖力试试!
发表于 2008-3-8 23:44:54 | 显示全部楼层 来自: 中国北京
1.砂轮的宽度最好不要等于轴1磨削的轴向宽度,砂轮的宽度为1/2多一点,两次接刀磨削.以减小轴的加工中弯曲变形.: X- j! |+ D; b" R) n
2.光刀磨削时间加大,让工件在回弹状态下充分光磨削.粗磨时进刀量不能够太大,工人有时为了多得工时,加大走刀量.造成零件加工中弯曲大.0 M* d/ k  J9 }6 K) H

$ h% P" }# f/ o1 \[ 本帖最后由 hhq426 于 2008-3-8 23:46 编辑 ]
发表回复
您需要登录后才可以回帖 登录 | 注册

本版积分规则


Licensed Copyright © 2016-2020 http://www.3dportal.cn/ All Rights Reserved 京 ICP备13008828号

小黑屋|手机版|Archiver|三维网 ( 京ICP备2023026364号-1 )

快速回复 返回顶部 返回列表