QQ登录

只需一步,快速开始

登录 | 注册 | 找回密码

三维网

 找回密码
 注册

QQ登录

只需一步,快速开始

展开

通知     

全站
10天前
查看: 2803|回复: 5
收起左侧

[已解决] 粗糙度符号上面这些表示的什么意思?

 关闭 [复制链接]
发表于 2007-11-19 17:05:06 | 显示全部楼层 |阅读模式 来自: 中国广东东莞

马上注册,结识高手,享用更多资源,轻松玩转三维网社区。

您需要 登录 才可以下载或查看,没有帐号?注册

x
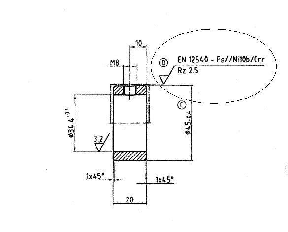
请问粗糙度符号上面这些表示的什么意思?如图
bbb.JPG
发表于 2007-11-19 18:21:39 | 显示全部楼层 来自: 中国江苏镇江
EN12540 好像是欧标

评分

参与人数 1三维币 +5 收起 理由
userkypdy + 5 积极参与

查看全部评分

发表于 2007-11-19 22:49:44 | 显示全部楼层 来自: 中国江西九江
好象是镀铬后要达到的表面粗糙度Rz 2.5

评分

参与人数 1三维币 +5 收起 理由
userkypdy + 5 积极参与

查看全部评分

发表于 2007-11-20 08:39:13 | 显示全部楼层 来自: 中国上海
“EN 12540”是欧洲标准,标准名称是:EN 12540-2000 金属的腐蚀防护 镍、镍加铬、铜加镍和铜加镍加铬的电解镀层,图样上用点划线应该表示这是镀层,GB/T131-2006《产品几何技术规范(GPS)  技术产品文件中表面结构的表示法》中也有类似的例子,参照GB/T13911-1992《 金属镀覆和化学处理表示方法》中的解释:Fe表示基体材料是钢,光亮镀镍10μm,普通镀铬,表面粗糙度Rz2.5,表面处理方法由于EN 12540规定了,省略标注。: `9 y9 e( e8 V3 F6 Z! b4 R7 \

+ B) _" Y4 G* q+ c' N9 j" n3 Z最好还是看看EN 12540,避免与中国标准表示有差别造成误解。

评分

参与人数 1三维币 +5 收起 理由
userkypdy + 5 积极参与

查看全部评分

发表于 2007-11-20 14:27:15 | 显示全部楼层 来自: 中国福建泉州
原帖由 lhf999 于 2007-11-20 08:39 发表 http://www.3dportal.cn/discuz/images/common/back.gif
+ X3 k/ }- R( n$ I5 [: A) B, U“《 金属镀覆和化学处理表示方法》中的解释:Fe表示基体材料是钢,光亮镀镍10μm,普通镀铬,表面粗糙度Rz2.5,表面处理方法由于EN 12540规定了,省略标注。...
6 e. S4 h( c5 v

9 P9 G! P7 H* {. o& D请问到底是镀镍还是镀铬?

评分

参与人数 1三维币 +5 收起 理由
userkypdy + 5 积极参与

查看全部评分

发表于 2007-11-20 14:47:41 | 显示全部楼层 来自: 中国上海
原帖由 hbh0606 于 2007-11-20 14:27 发表 http://www.3dportal.cn/discuz/images/common/back.gif4 `. e4 F7 c- e
8 E( X# x( U9 g" w- K5 j

; P# I, {2 ?, W0 x请问到底是镀镍还是镀铬?

% l1 [$ m. k5 {. ?0 s( h) W
+ n) d. Q4 d2 R3 g) J; v" W大概是标准名称中的“镍加铬”,先镀镍,再镀铬。装饰性镀铬都要先镀铜、镍等打底的。0 K; q8 m8 r# _4 |4 }3 B: e
7 D' A  W+ m" E- R+ O
从中国的书上看来的,不知道对老外的东西是不是适用。
dg.JPG

评分

参与人数 1三维币 +5 收起 理由
userkypdy + 5 积极参与

查看全部评分

发表回复
您需要登录后才可以回帖 登录 | 注册

本版积分规则


Licensed Copyright © 2016-2020 http://www.3dportal.cn/ All Rights Reserved 京 ICP备13008828号

小黑屋|手机版|Archiver|三维网 ( 京ICP备2023026364号-1 )

快速回复 返回顶部 返回列表