QQ登录

只需一步,快速开始

登录 | 注册 | 找回密码

三维网

 找回密码
 注册

QQ登录

只需一步,快速开始

展开

通知     

查看: 3278|回复: 20
收起左侧

[已解决] 铝合金拉伸件怎么给工差

 关闭 [复制链接]
发表于 2007-9-1 21:41:51 | 显示全部楼层 |阅读模式 来自: 中国广东深圳

马上注册,结识高手,享用更多资源,轻松玩转三维网社区。

您需要 登录 才可以下载或查看,没有帐号?注册

x
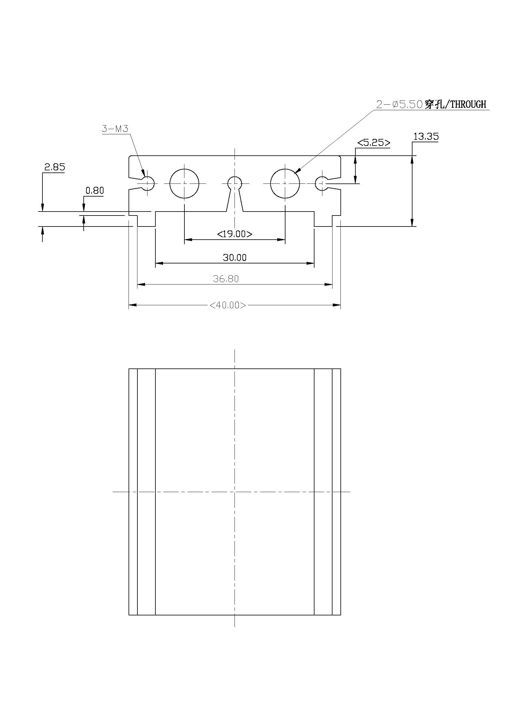
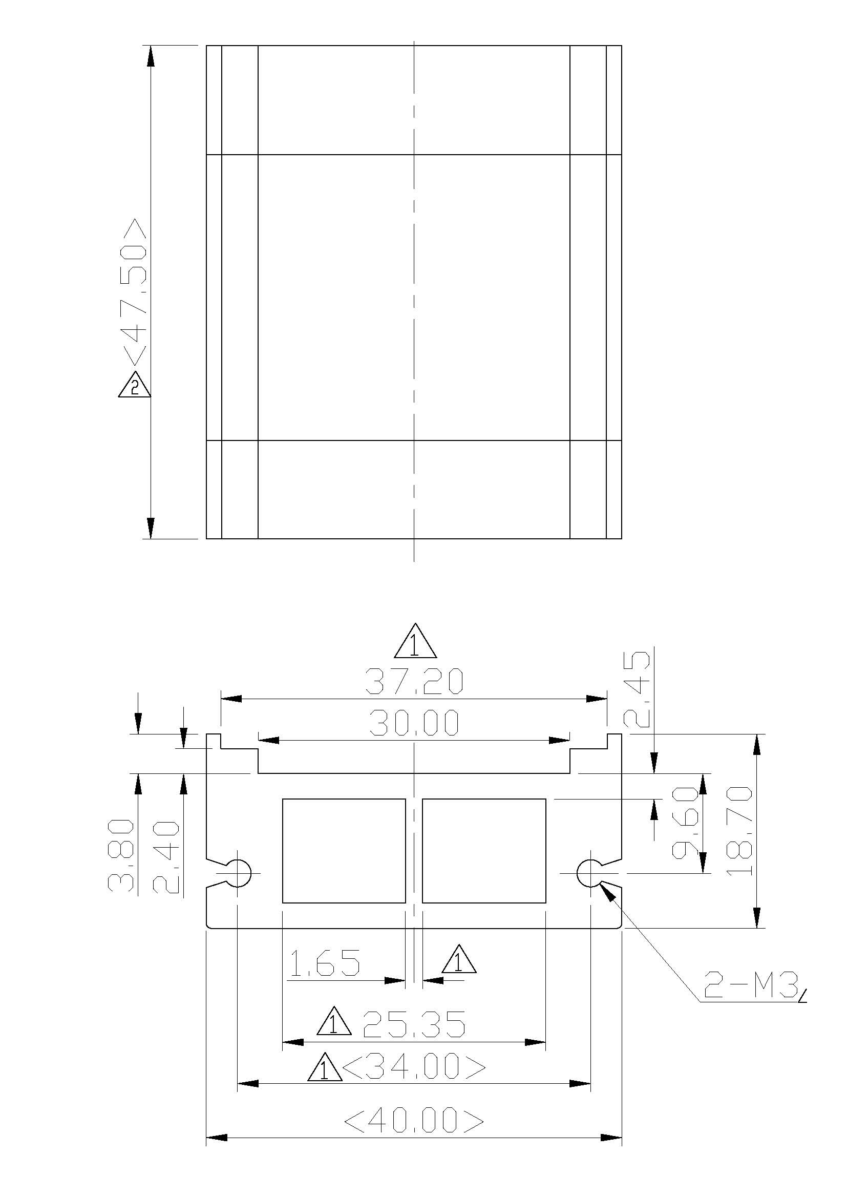
本人正设计一款工件,采用铝合金挤出后再加工的方式,类似于铝散片。由于不懂挤出模加工精度,所以宽度方向公差无法设计,本来要求精度高一点,但又担心厂商做不到(主要是担心挤出件在挤出过程中是否会因为电压等因素会使宽度方向变宽或变窄),请大家指教?比如:宽度40,正负公差,给多少,+/-0.10可以吗?
# t/ K; A2 }- ^# \# v如下图所示,宽度尺寸40,后期加工厂商要以此尺寸做定位治具,不希望此尺寸公差太大,但由于挤出厂商做不到,所以一直拿不定主意。/ Y; g5 G5 E0 c4 q% F% J4 |

  d' L  T+ \, S$ ohttp://1
& s& {, j  X5 g/ {. W) n4 `6 f; C
; {& N3 \9 G) N# ^8 U' _! Z) V[ 本帖最后由 xihao 于 2007-9-3 21:50 编辑 ]
00202水槽A Model (1).jpg
00203水槽B Model (1).jpg

00202水槽A Model (1).pdf

9.65 KB, 下载次数: 3

发表于 2007-9-1 21:51:10 | 显示全部楼层 来自: 中国江西九江
拉伸件凹凸圆弧的内半径以及一次成形的圆筒形拉伸件的高度尺寸公差为双面对称偏差,其偏差值为国标(GB)16级精度公差绝对值的一半,并冠以±号.

评分

参与人数 1三维币 +3 收起 理由
zyxwq + 3 积极讨论

查看全部评分

 楼主| 发表于 2007-9-1 22:12:03 | 显示全部楼层 来自: 中国广东深圳
不是拉伸件,是挤出件,用挤出机加工的,就象电子零件的散热片。挤出时虽有模具保证,但我想机台参数,人员素质,电源电压等对它都有影响。由没做个这个,所以无法给出准确的公差。
头像被屏蔽
发表于 2007-9-1 23:13:04 | 显示全部楼层 来自: 中国黑龙江大庆
提示: 作者被禁止或删除 内容自动屏蔽
 楼主| 发表于 2007-9-1 23:21:05 | 显示全部楼层 来自: 中国广东深圳
谢谢!但后期加工厂商要求将公差控制在40+0.10/-0.00内,不知可不可以?这样他们加工时固定治具才好做.
发表于 2007-9-2 06:12:43 | 显示全部楼层 来自: 中国江苏常州
挤压模具的设计凸凹模具是用热作模具钢制造的,电脉冲和线切割加工,精度好,但是要看你的零件的复杂程度,例如
2 B- W; ^; z/ {( R6 }薄壁的方管形状的就难,然后挤出的型材还要过水热处理.有热涨冷缩,所以精度不太好控制,
/ ~# r3 {& D" ?) x另外由于有些曲面的过度要手工修磨,所以本身模具的公差有些至少要5-10丝.$ w: }- c& U) i. W4 y$ W
---------------------------------------& ^; L8 T0 _, f8 u/ N" H1 o
一家之盐

评分

参与人数 1三维币 +3 收起 理由
zyxwq + 3 积极讨论

查看全部评分

发表于 2007-9-2 10:58:05 | 显示全部楼层 来自: 中国安徽芜湖
可以和厂家联系,一般厂家有自己的内部标准(有可能高于国家标准),对于铝合金挤压型材不是靠电压控制的,而是由模具控制的。
发表于 2007-9-2 11:08:03 | 显示全部楼层 来自: 中国福建泉州
给产品定公差主要是看配合,有配合的部位,公差要求小些,无配合的可适当放宽公差。一般挤压件的精度可要求较高,取决于模具的制作精度。

评分

参与人数 1三维币 +2 收起 理由
zyxwq + 2 积极讨论

查看全部评分

 楼主| 发表于 2007-9-2 16:06:43 | 显示全部楼层 来自: 中国广东深圳
谢谢各位,那到底40+0.10/-0.00合不合适,厂商能做得出来吗?
发表于 2007-9-2 17:20:48 | 显示全部楼层 来自: 中国辽宁鞍山
看看你的结构是什么样的,哥们公差不是不可以做,不过模具寿命不是很长,
发表于 2007-9-2 19:40:03 | 显示全部楼层 来自: 中国江苏常州
再发一贴:$ t% `- o- Q' R. L4 t, N
同意10楼的
& _" E+ {4 ?  A你换个角度把,
; B: r* ~' r: O) m0 u; j) S9 a本来这个模具就是容易坏
* q& x( e  M* U  ]: T3 ?" }) e你看看有必要吗?
 楼主| 发表于 2007-9-2 21:15:28 | 显示全部楼层 来自: 中国广东深圳
明天我把2D图贴上来,再请教各位!
发表于 2007-9-3 00:45:05 | 显示全部楼层 来自: 中国辽宁阜新
原帖由 xihao 于 2007-9-2 16:06 发表 http://www.3dportal.cn/discuz/images/common/back.gif
' D! Y1 Z! m& H7 H+ X谢谢各位,那到底40+0.10/-0.00合不合适,厂商能做得出来吗?

: `/ T5 S  R9 u  P( Q" n能。
1 i; w5 M: Y+ e) F) T只是模具精度要求有所提高,但凭借现有技术完全可以做到。
% n/ h. M1 V3 M( T( n& l& {7 C补充一点:40+0.10/0.00和40.05+0.05/-0.05是等效的,只是精度高于40+0.1/-0.1。公差和偏差的概念要区分开。
发表于 2007-9-3 09:34:52 | 显示全部楼层 来自: 中国北京
不同意楼上的观点,我看未必行,摸局可能几天后就不能保证公差了,
发表于 2007-9-3 12:18:41 | 显示全部楼层 来自: 中国江苏无锡
对于铝合金型材的尺寸偏差可参考国家标准啊.附贴图
铝合金型材尺寸偏差.jpg

评分

参与人数 1三维币 +3 收起 理由
fwg4002 + 3 应助

查看全部评分

发表于 2007-9-3 14:50:46 | 显示全部楼层 来自: 中国江苏苏州
楼上的才是正解.能否提供下载
发表于 2007-9-3 17:22:34 | 显示全部楼层 来自: 中国江苏镇江
都是工程师啊,我是做销售的,来了解下
 楼主| 发表于 2007-9-3 21:56:43 | 显示全部楼层 来自: 中国广东深圳
原帖由 renyueming2001 于 2007-9-3 12:18 发表 http://www.3dportal.cn/discuz/images/common/back.gif9 f% I3 t% @" V& O% L3 e2 L$ ^' s
对于铝合金型材的尺寸偏差可参考国家标准啊.附贴图
5 U1 i0 N0 I/ `0 R) Z5 V. \
能否将这个发出来下载。' K% |7 _2 B9 _' O
另外,我在一楼将图纸贴出来了,请大家看看。到底40+0.10/-0.00公差合不合适?
 楼主| 发表于 2007-9-3 22:58:32 | 显示全部楼层 来自: 中国广东深圳
谁能将这个传到这里来,我的阅读权限不够(在国家标准发布区):
6 @1 g9 l9 Y( b9 ?9 D' bGB/T 14846-1993 铝及铝合金挤压型材尺寸偏差# ]: E" m2 u8 D
http://www.3dportal.cn/discuz/vi ... amp;highlight=14846
 楼主| 发表于 2007-9-5 19:55:41 | 显示全部楼层 来自: 中国广东深圳
谢谢提供!先看看再说!
发表于 2009-4-28 08:55:00 | 显示全部楼层 来自: 中国北京
这有免费下载
) B5 }8 N8 o. x/ q) Ihttp://www.456789.cn/soft/1065.html#download
发表回复
您需要登录后才可以回帖 登录 | 注册

本版积分规则


Licensed Copyright © 2016-2020 http://www.3dportal.cn/ All Rights Reserved 京 ICP备13008828号

小黑屋|手机版|Archiver|三维网 ( 京ICP备2023026364号-1 )

快速回复 返回顶部 返回列表