QQ登录

只需一步,快速开始

登录 | 注册 | 找回密码

三维网

 找回密码
 注册

QQ登录

只需一步,快速开始

展开

通知     

查看: 2005|回复: 4
收起左侧

[已解决] 图看不明白,

[复制链接]
发表于 2007-1-9 12:19:09 | 显示全部楼层 |阅读模式 来自: 中国辽宁沈阳

马上注册,结识高手,享用更多资源,轻松玩转三维网社区。

您需要 登录 才可以下载或查看,没有帐号?注册

x
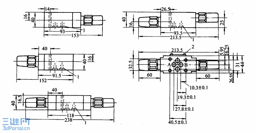
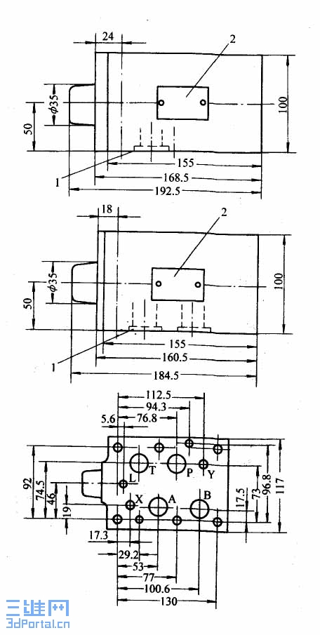
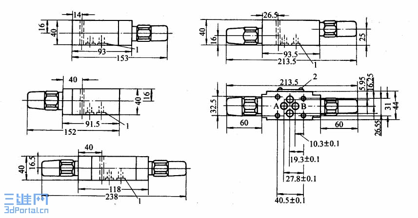
力士乐叠加溢流阀,请问L X Y 孔是作什么用的,不好意思粘贴的时候失败,麻烦您看图了

1 N1 m, H5 t4 N- |7 D: R4 B3 z2 C) e4 q9 V' s7 H
[ 本帖最后由 江边 于 2007-1-9 20:33 编辑 ]
YC200.jpg
YC197.jpg
YC197.jpg
发表于 2007-1-9 20:32:57 | 显示全部楼层 来自: 中国安徽马鞍山
L,泄漏口
7 I3 O7 E1 G- oX,液控口, P+ V% F+ D* C
Y,液控回油口$ f" P. @. K! |/ a( a, p

( G# ]3 i$ O( N! S' _  Z8 {此问题本版以前讲述过!
发表于 2009-12-8 10:48:29 | 显示全部楼层 来自: 中国宁夏银川
现在的叠加阀L口好象已没有了,应该是简化油路块的加工与设计
发表于 2009-12-8 10:58:36 | 显示全部楼层 来自: 中国辽宁鞍山
阀上现在没有L孔了
发表于 2009-12-8 16:21:11 | 显示全部楼层 来自: 中国上海
受教了,各位大大好厉害
发表回复
您需要登录后才可以回帖 登录 | 注册

本版积分规则


Licensed Copyright © 2016-2020 http://www.3dportal.cn/ All Rights Reserved 京 ICP备13008828号

小黑屋|手机版|Archiver|三维网 ( 京ICP备2023026364号-1 )

快速回复 返回顶部 返回列表