QQ登录

只需一步,快速开始

登录 | 注册 | 找回密码

三维网

 找回密码
 注册

QQ登录

只需一步,快速开始

展开

通知     

查看: 2076|回复: 10
收起左侧

[求助] 有谁知道图纸上的产品如何加工的,有厂商可以推荐给我

[复制链接]
发表于 2015-12-16 22:24:38 | 显示全部楼层 |阅读模式 来自: 中国上海

马上注册,结识高手,享用更多资源,轻松玩转三维网社区。

您需要 登录 才可以下载或查看,没有帐号?注册

x
本帖最后由 designerlucy 于 2015-12-17 18:36 编辑
6 Z8 V; ~3 R2 G! z1 N4 X, G9 z: \& `
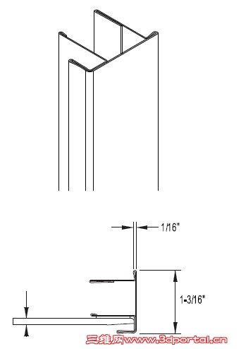
有谁知道,麻烦告诉我一下,或者有加工此类产品的工厂也请推荐一下,这个是国外装在橱柜移门上面的, 补充不是塑钢铝合金,是不锈钢或者铁
1 b2 `) \4 T0 @9 g, G4 `. V

图
发表于 2015-12-16 23:06:15 | 显示全部楼层 来自: 中国广东深圳
这是型材吧?铝的?找铝型材厂家开模加工呗
发表于 2015-12-17 08:16:08 | 显示全部楼层 来自: 中国安徽蚌埠
冷轧钣金件,这个和现在的泡沫夹芯板的门边、门框较相似……
发表于 2015-12-17 08:39:01 | 显示全部楼层 来自: 中国安徽合肥
这是钣金折弯件,有数控折弯机都可以做。
发表于 2015-12-17 11:25:13 | 显示全部楼层 来自: 中国上海
是不是铝型材啊?
发表于 2015-12-17 14:16:18 | 显示全部楼层 来自: 中国广东深圳
这肯定是型材,铝的或塑料的
发表于 2015-12-17 21:34:14 | 显示全部楼层 来自: 中国江苏苏州
这是五折的钣金型材,就像威图机柜的九折型材一样,要专门的数控模具才能生产,如果楼主要想做的话,我想这个模具的开发是一笔不小的数字!
发表于 2015-12-19 15:02:01 | 显示全部楼层 来自: 中国广东广州
是铝型材氧化吧!
发表于 2015-12-19 16:25:12 | 显示全部楼层 来自: 中国广东东莞
钣金折弯件,有的角度先不要折死,要用平刀压,我们厂做过H 型槽,用1.0板折弯成型的
发表于 2015-12-22 11:08:47 | 显示全部楼层 来自: 中国广东东莞
1.2板折弯成型H槽
H槽.jpg
发表于 2015-12-22 11:22:10 | 显示全部楼层 来自: 中国广东肇庆
wenmk123 发表于 2015-12-17 21:34
7 g0 v+ ]8 p' I! `) M这是五折的钣金型材,就像威图机柜的九折型材一样,要专门的数控模具才能生产,如果楼主要想做的话,我想这 ...

! h3 [9 r* N) S8 G( q- j& ?2 q, L折弯有长度限制,用机组冷弯成形可以吗?
发表回复
您需要登录后才可以回帖 登录 | 注册

本版积分规则


Licensed Copyright © 2016-2020 http://www.3dportal.cn/ All Rights Reserved 京 ICP备13008828号

小黑屋|手机版|Archiver|三维网 ( 京ICP备2023026364号-1 )

快速回复 返回顶部 返回列表