QQ登录

只需一步,快速开始

登录 | 注册 | 找回密码

三维网

 找回密码
 注册

QQ登录

只需一步,快速开始

展开

通知     

查看: 2946|回复: 17
收起左侧

[求助] 这个闷盖在mastercam中如何实现两面加工啊???

[复制链接]
发表于 2013-7-6 15:07:14 | 显示全部楼层 |阅读模式 来自: 中国河北唐山

马上注册,结识高手,享用更多资源,轻松玩转三维网社区。

您需要 登录 才可以下载或查看,没有帐号?注册

x
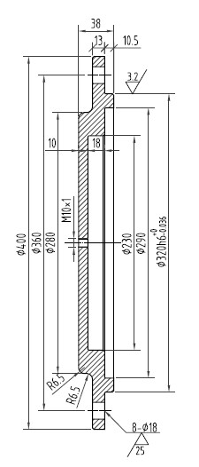
    我在mastercam里只会加工闷盖的一面,如何实现另一面的加工啊?新手上路,请多关照~~~* y, w6 G  F) Q6 [& W
                                                                `S~)BXN(3)3GOG38XTRZ2X3.jpg
发表于 2013-7-6 18:33:50 | 显示全部楼层 来自: 中国福建泉州
车床的问题,要铣床铣吗?
 楼主| 发表于 2013-7-6 19:11:26 | 显示全部楼层 来自: 中国河北唐山
threestone 发表于 2013-7-6 18:33 static/image/common/back.gif
( |8 K  C, p, E; M1 A1 _车床的问题,要铣床铣吗?

6 u: S& L0 j. b* u& j; F1 i嗯,这个应该也可以用铣床吧?两次装夹,不过在cam上我不会,你知道怎么弄吗?
发表于 2013-7-6 19:17:29 | 显示全部楼层 来自: 中国上海
楼上就贴一剖视图,你能知道是什么玩意,只能看大概形状,铣床就18的孔可以打,都是车床的活,楼主的工艺这么差劲
发表于 2013-7-6 20:22:21 | 显示全部楼层 来自: 中国广东东莞
双之蓝 发表于 2013-7-6 19:11 static/image/common/back.gif- w$ @9 Y5 b/ [6 B5 h/ ?) ^
嗯,这个应该也可以用铣床吧?两次装夹,不过在cam上我不会,你知道怎么弄吗?

" g) Y6 x* m8 v" j车床干的活非要穷追问底的问用洗床怎么干,这有意思吗,即使是在铣床能干出来,那也没有一点经济价值,钻牛角尖也要找对方向啊
 楼主| 发表于 2013-7-6 20:35:01 | 显示全部楼层 来自: 中国河北唐山
zhuyi0829 发表于 2013-7-6 19:17 static/image/common/back.gif
6 _3 Q, ^+ O% f$ C. a楼上就贴一剖视图,你能知道是什么玩意,只能看大概形状,铣床就18的孔可以打,都是车床的活,楼主的工艺这 ...
& A$ Q  W8 l# S
呃,这是原图纸截图下来的,就一个剖视图,不过我觉得形状可以确定了啊
 楼主| 发表于 2013-7-6 20:38:36 | 显示全部楼层 来自: 中国河北唐山
man8 发表于 2013-7-6 20:22 static/image/common/back.gif
: v0 ~/ k9 g3 W: E  m车床干的活非要穷追问底的问用洗床怎么干,这有意思吗,即使是在铣床能干出来,那也没有一点经济价值,钻 ...

+ `8 W0 c+ H  L; E9 {不是我要钻牛角尖,我需要找一个纯数铣加工的零件,找了半天就觉得这个像一些,别的都不太像
发表于 2013-7-6 22:48:09 | 显示全部楼层 来自: 中国上海
立式车铣中心两道工序完成
" |: w$ F. P5 y8 Z! \3 O, a- a
发表于 2013-7-7 08:52:20 | 显示全部楼层 来自: 中国安徽合肥
交给数车操工师弟,手动编程.
发表于 2013-7-7 09:59:53 | 显示全部楼层 来自: 中国上海
双之蓝 发表于 2013-7-6 20:35 static/image/common/back.gif
: E+ e  V, Q+ e# J9 m3 y/ y, }呃,这是原图纸截图下来的,就一个剖视图,不过我觉得形状可以确定了啊

" U6 m# F8 }1 q3 \( g, |+ m4 i9 K你是设计师,给人家这个图纸,请问别人有什么想法,不是你觉得可以就可以的,视图清晰,尺寸完整,行位公差规范,这是对设计师最起码的要求,不然外面还混什么
 楼主| 发表于 2013-7-7 15:49:12 | 显示全部楼层 来自: 中国河北唐山
zhuyi0829 发表于 2013-7-7 09:59 static/image/common/back.gif
3 b8 y/ \# R. N8 R1 A# Q* p# e你是设计师,给人家这个图纸,请问别人有什么想法,不是你觉得可以就可以的,视图清晰,尺寸完整,行位公 ...
% c* L" \7 ~! l) E$ Z2 p' s
呃,其实这个图纸不是我设计的,我刚在企业实习,学校要求我们做数控技术的课程设计,但我所在的公司是从事重型装备制造的,车间里只有一台不怎么用的数控铣床,我才找了这样一个零件,想试试看行不行、、、不过毕业了我挺想从事设计工作的,你的建议确实很有意义,真心谢谢你
发表于 2013-7-8 22:21:32 | 显示全部楼层 来自: 中国福建泉州
双之蓝 发表于 2013-7-6 19:11 static/image/common/back.gif$ h& t/ E) n: e) k7 `
嗯,这个应该也可以用铣床吧?两次装夹,不过在cam上我不会,你知道怎么弄吗?

, S  S9 }2 i0 p; m5 J这个产品,在铣床上面的经济价值不高,就适合在数控车上面或者是车铣上面加工
发表于 2013-7-8 22:22:47 | 显示全部楼层 来自: 中国福建泉州
双之蓝 发表于 2013-7-7 15:49 static/image/common/back.gif
: l) e& e: ^' a6 A5 r8 Z6 F' _5 G呃,其实这个图纸不是我设计的,我刚在企业实习,学校要求我们做数控技术的课程设计,但我所在的公司是从 ...
1 ?& ?  m! C5 Y9 N4 p5 O8 w
难怪你在说数控铣上面,原来车间只有一个铣床,,。
发表于 2013-7-8 22:41:55 | 显示全部楼层 来自: 中国广东东莞
1,如可以打镙丝在工件上,就直接打镙丝在平面上.
9 A+ ^' U1 F( c" l  i; j2,如不可以打镙丝在平面上.就在空的地方上搞些镙丝位收,加工完了飞掉镙丝位.当然也可以压压码,锁磁等!!
发表于 2013-7-9 08:59:29 | 显示全部楼层 来自: 中国福建厦门
本帖最后由 363485543 于 2013-7-9 09:06 编辑
& U, K8 _, q( ~# k3 z# J/ p! Q
* a6 B+ n. k3 J  P! g这工件如果非得用铣床加工,数量才一件的话。。个人建议
- _) I/ z/ T4 B" c  E0 F. C1.  下四方料压四个角,先挖直径230MM的那一端.,台阶,孔,最大外形之类的都一次性下来。。7 R/ j2 f) `6 {+ X: A/ E) C" l
2.反面装夹直接用反爪夹直径230这个内孔,三点找外圆中心,铣直径280MM,倒角,M10*1的牙,当然下刀量稍微小一点,怕震刀。。。。2 m. u% D5 m8 {: u) ?! O: I

. t& @, }% W/ L* y- ]下次最好能写上是什么材料。。。
 楼主| 发表于 2013-7-9 18:10:34 | 显示全部楼层 来自: 中国河北唐山
threestone 发表于 2013-7-8 22:21 static/image/common/back.gif
% s6 Q" a2 F8 ?* e& W9 C9 S这个产品,在铣床上面的经济价值不高,就适合在数控车上面或者是车铣上面加工

; p1 o" X' ?2 f- R7 f$ {& p: K8 q嗯,我现在知道了,不过什么样的零件用数控铣床就能加工出来啊?能不能给我讲一下,我现在对工艺还不了解~~~
 楼主| 发表于 2013-7-9 18:12:36 | 显示全部楼层 来自: 中国河北唐山
363485543 发表于 2013-7-9 08:59 static/image/common/back.gif, W, }* J' B& j" T) z, C, s
这工件如果非得用铣床加工,数量才一件的话。。个人建议
, ?/ _) Z, ]) J2 G" c* m1.  下四方料压四个角,先挖直径230MM的那一端., ...

: o6 w0 G8 {# d下次会注意材料的问题的,现在对这些还不太懂,谢谢你的讲解,很详细,呵呵
发表于 2013-7-9 18:22:52 | 显示全部楼层 来自: 中国天津
这个产品我们以前用普通车床都加工出来,再简单不过了的东西也拿来说,问这问题的无聊!
发表回复
您需要登录后才可以回帖 登录 | 注册

本版积分规则


Licensed Copyright © 2016-2020 http://www.3dportal.cn/ All Rights Reserved 京 ICP备13008828号

小黑屋|手机版|Archiver|三维网 ( 京ICP备2023026364号-1 )

快速回复 返回顶部 返回列表