QQ登录

只需一步,快速开始

登录 | 注册 | 找回密码

三维网

 找回密码
 注册

QQ登录

只需一步,快速开始

展开

通知     

查看: 1553|回复: 3
收起左侧

[求助] 在工程图中如何捕捉中心线的端点或这圆的圆心啊?

[复制链接]
发表于 2013-3-18 14:04:28 | 显示全部楼层 |阅读模式 来自: 中国江苏无锡

马上注册,结识高手,享用更多资源,轻松玩转三维网社区。

您需要 登录 才可以下载或查看,没有帐号?注册

x
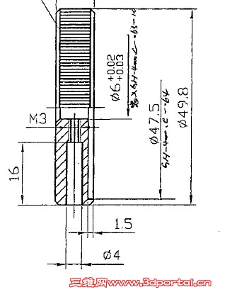
1.在工程图中如何捕捉中心线的端点或这圆的圆心啊?) }% A. z" u- y0 k& a8 M  f
$ d( J$ _  B  l/ Q- q( G
0 Y* I* e: m; U  L+ p9 f3 y9 A5 H
2.另外就是在工程图中如何将半径尺寸切换为直径尺寸?
% A" m# h; k) z) k7 d: _我要标出图中“直径是47.5”的尺寸,该如何操作啊?* `- {. C, l* X, y0 h* ^. \
QQ截图20130318135900.jpg
发表于 2013-3-18 22:21:31 | 显示全部楼层 来自: 中国陕西
鼠标点尺寸,弹出尺寸栏对话框,点击引线,看到有半径和直径的切换按钮。! {6 E  E6 T! P/ M
标注47.5时,如图是做了半剖,标注出来的尺寸是直线平行尺寸,需要手动添加直径符号。点击尺寸,弹出尺寸选项栏,在数值界面的最下方点击直径按钮。* a4 T4 @/ b. u% c' N  U1 F5 R
想要图中的标注样式,右键点击尺寸线,隐藏尺寸延伸线。隐藏尺寸线即可,希望能帮到你
发表于 2013-3-18 22:22:39 | 显示全部楼层 来自: 中国四川成都
学习了哈
发表于 2013-6-16 08:02:13 | 显示全部楼层 来自: 中国江苏无锡
:good:good:rose:
发表回复
您需要登录后才可以回帖 登录 | 注册

本版积分规则


Licensed Copyright © 2016-2020 http://www.3dportal.cn/ All Rights Reserved 京 ICP备13008828号

小黑屋|手机版|Archiver|三维网 ( 京ICP备2023026364号-1 )

快速回复 返回顶部 返回列表