QQ登录

只需一步,快速开始

登录 | 注册 | 找回密码

三维网

 找回密码
 注册

QQ登录

只需一步,快速开始

展开

通知     

全站
8天前
查看: 4303|回复: 25
收起左侧

[求助] 做变速的齿轮倒角

[复制链接]
发表于 2011-10-5 13:36:33 | 显示全部楼层 |阅读模式 来自: 中国四川资阳

马上注册,结识高手,享用更多资源,轻松玩转三维网社区。

您需要 登录 才可以下载或查看,没有帐号?注册

x
本帖最后由 liqiangproe 于 2011-10-5 22:27 编辑
8 B* |; L  }7 L  ~' P7 {3 W0 V2 D& ^: ~
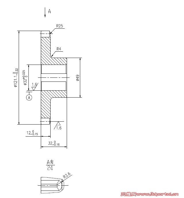
0 l" \4 L0 q9 A做变速的齿轮(滑移齿轮)倒角角度 一般为20度,但听同事说 倒角应该有圆弧,但学生不解:+ Q5 K1 c! {' k6 p

5 R8 H; y8 Q. c& V圆弧大小该为多少(有什么原则)9 \& N" t- K& G' c+ H. ~
2 n6 T% d# a. A0 @& y/ P% ~8 s
以及在CAD或CAXA软件中 如何画这个圆弧?& l: A! w2 u+ s% V7 [
: G9 @6 Z$ a$ l8 U6 @* d, C' ^
请老师指教!!
, q7 D# e* V6 C6 j) u) A8 J1 s3 N# e

" V9 V" W8 `- [. T* e/ N
$ _# m6 M5 g' ~7 [% z+ h; z谢谢!!!
01.jpg
发表于 2011-10-5 16:04:35 | 显示全部楼层 来自: 中国江苏常州
滑移齿轮的话,倒角应该有圆弧,圆弧大小与模数、齿厚有关。可查齿轮手册。
发表于 2011-10-5 16:06:39 | 显示全部楼层 来自: 中国江苏常州
看一下此贴
, w. M: V' i( v
; H! w. d; a( C+ rhttp://www.3dportal.cn/discuz/viewthread.php?tid=905429
发表于 2011-10-5 16:24:04 | 显示全部楼层 来自: 中国江苏常州
本帖最后由 ftgww123 于 2011-10-5 16:26 编辑 8 p+ K: E; P) t
5 E+ [7 H& `+ e- s
未命名.jpg * u# ^% D4 y9 H2 @8 y9 r/ m
4 [4 W* C8 v9 S1 ]
贴图供参考,20度斜面也可以用大圆角R替代。
发表于 2011-10-5 18:46:30 | 显示全部楼层 来自: 中国广东东莞
倒角比倒圆弧成本低,但倒圆弧操作运行要好些,结合冲击小。建议高速齿倒圆弧减小冲击和噪音,低速齿倒角以降低成本。
 楼主| 发表于 2011-10-5 22:02:50 | 显示全部楼层 来自: 中国四川资阳
本帖最后由 liqiangproe 于 2011-10-5 22:41 编辑 $ K# U& f0 R* T
" ?7 D; L3 O# F! }: C
谢谢 老师 学生学习了
  h9 l1 q: @1 V: z2 T
- H: i* b" M0 ?" Z( u: n3 q请问老师 !
0 B: e% i6 t( ]  n$ v% B1 H2 B6 v) D$ B
在CAD里 用20度线画出了倒角线,我用圆弧命令画不出来?
3 l3 `; y/ y4 V' R/ r7 a2 ~! Y6 m$ k
学生理解所画的圆弧线与20度线相切?不知正确与否..
6 P3 }0 [; R6 c9 W% |6 y/ f6 U5 p4 ^/ g: F
请赐教!!!
01.jpg
01.jpg
发表于 2011-10-5 22:48:25 | 显示全部楼层 来自: 中国江苏常州
要么20度斜线,要么R圆弧,与倒角刀形状是一致的。
$ `9 g' ?: i+ R) `下载3楼衔接课件好好看看,就明白了。
发表于 2011-10-5 22:52:02 | 显示全部楼层 来自: 中国广东东莞
本帖最后由 tangcarlos3d 于 2011-10-6 18:54 编辑
4 g% d9 k, I5 L# I" t- i
4 b: Q: s$ B) w# R* `6 }  D. j1,将左边线往右offset 半径值(比如25mm),2,过切点作左边线的垂线,二线的交点就是圆心,3,以此点为圆心,25为半径画的弧即是结果。
 楼主| 发表于 2011-10-6 13:03:12 | 显示全部楼层 来自: 中国四川资阳
8# tangcarlos3d
/ b( \& k, ]3 c+ i# `7 K1 |2 z' W: V5 N; b" e7 O
谢谢!( n/ L) U: t2 s: r# F

0 i* F0 H+ r4 E& R8 y学生试了一下! 还是不行 ,请看图:/ \1 U/ D" s4 b
( N9 C7 Q7 N+ T8 k5 E' U' S
+ t( d/ j4 }/ G7 w5 x) r
老师 帮帮学生 示范一下操作过程(截图或录像)吧!!!, l6 z6 ], c0 B8 f# R8 @
5 X  a: @7 _6 p% {

+ R) X) U4 p: c$ i/ ^7 j) W% H; ^谢谢!!!
01.jpg
发表于 2011-10-6 13:34:46 | 显示全部楼层 来自: 中国江苏常州
不要把功夫花在作图上,多看看课件,看看实际是怎么回事再说。
发表于 2011-10-6 19:01:15 | 显示全部楼层 来自: 中国广东东莞
本帖最后由 tangcarlos3d 于 2011-10-6 19:13 编辑
  D9 Q% B7 O# P. d( P7 B, Q/ g& M9 d* i9 |5 O2 f
你的作图错了!第二条线是过切点(即知道切点位置),不是offset.
; b7 _& A- m& `  C
, W( c' v# i" k8 I注意:我是pro/e画的。  o. O  M; L) _. X0 P9 A
第一图:图中斜线对y轴的角度是20度(图中的T是相切点)。我家里机器没有autcad。不过画图方法是一样的。8 e* g: h  q! E

. m7 R, }- V' j3 L9 j第而个作图方法是(已知20度倒角边的大小,不知道切点位置):1,作20度倒角斜边,2,把斜边与左垂直边的交点处倒R25的圆弧(见第二个图)。这个方法简单些。
a.jpg
b.jpg
 楼主| 发表于 2011-10-6 21:33:01 | 显示全部楼层 来自: 中国四川资阳
本帖最后由 liqiangproe 于 2011-10-6 21:34 编辑 4 g  j# [  @* }  q) T
3 n0 ~8 b6 `* E& u  \* G
谢谢 老师!" M' A1 X4 v. R1 ]2 n
1 S$ o+ H4 b; q- K
学生也用PROE画了一下!请老师看图(如图2及如图3)请问正确吗?
5 Q3 X) r) [/ C/ f% v* f- }
/ b2 S3 w( l( @3 z& r(齿轮画的简图,齿形不正确,还请见谅)
$ |" q4 M9 c8 m+ s3 D4 ~, N0 V1 {& e7 Q% R$ H& E3 M4 t* g3 c2 t
请看第一张图(如图1),齿槽端部(此处)还需要倒成圆角吗?4 j! C9 a& T/ X

0 q3 d7 ~9 a6 V. q" k/ o谢谢!!!
01.jpg
02.jpg
03.jpg
发表于 2011-10-6 21:38:17 | 显示全部楼层 来自: 中国江苏常州
本帖最后由 ftgww123 于 2011-10-6 21:39 编辑 7 o5 K0 n' d: s7 Y
1 k; ?& e% ^0 P7 B
本版块----研究cad,还是倒角工艺。
" c% \. T: _  X6 I杯具
 楼主| 发表于 2011-10-6 21:52:41 | 显示全部楼层 来自: 中国四川资阳
对不起 各位版主 各位老师* x5 w7 Z7 v: m# B2 O, }
这个问题 倒角涉及加工 也涉及倒角的大小及画法
- N! o" Q( e7 f/ E( y. _& y倒角的大小(画法) 关系到加工! J, N5 ?& E! l( K& ]
所以学生发到这里了
发表于 2011-10-6 22:38:49 | 显示全部楼层 来自: 中国广东东莞
本帖最后由 tangcarlos3d 于 2011-10-8 22:39 编辑
- ?5 r3 T9 @( N4 v0 T3 S$ e5 A/ C$ J. b3 P  b0 r* o
图纸画正确肯定是对的!我没有记错的话,12楼中第一图中轮齿端部的倒角是用剃齿机进行微修(查了一下,剃齿机主要用于精加工没淬火的齿轮,也可以加工齿面中鼓的齿形)。
发表于 2011-10-6 22:39:50 | 显示全部楼层 来自: 中国江苏常州
本帖最后由 ftgww123 于 2011-10-7 14:58 编辑
& F4 y# M1 H7 W! C- S5 |* W3 t, F% n- G: w/ M( ]
剃齿机进行倒角2 i, m# n$ |3 F4 f" m) k
% j# j$ N% B- M. m
-----------孤陋寡闻了
 楼主| 发表于 2011-10-7 13:19:30 | 显示全部楼层 来自: 中国四川资阳
请问 老师!!!
+ [0 R3 N" j- ]+ n+ n; s+ a/ r' m7 M+ s) j0 S/ Y8 i
轮齿端部需要倒角吗?(什么情况下要倒角)
& S2 u$ V5 `, d$ D
! k8 `4 t- Z" q# G9 W/ A我在现场看了下,好像没有倒....4 T; w) y2 K0 @. [

8 E4 \  s0 r4 U9 x& h& ~/ {谢谢
发表于 2011-10-7 14:53:10 | 显示全部楼层 来自: 中国江苏常州
一下回到解放前
 楼主| 发表于 2011-10-8 21:25:39 | 显示全部楼层 来自: 中国四川资阳
本帖最后由 liqiangproe 于 2011-10-8 21:31 编辑 & E) V5 V6 x- ~* o: p& i- H' I

# g. |% p2 `# V请问 老师!!!) E8 L- t% B: Q
/ l* Z9 a# r" }; y) d
轮齿端部需要倒角吗?(什么情况下要倒角)
9 n/ [8 v7 g0 r7 {  s% o# n: I* t5 v
做滑移齿轮用
# o* c/ z$ l' q; D5 ~# k0 f) r9 x' N$ q! M3 A. U4 t$ G4 M& Y
谢谢
发表于 2011-10-8 22:32:23 | 显示全部楼层 来自: 中国广东东莞
本帖最后由 tangcarlos3d 于 2011-10-8 23:14 编辑
/ x4 l7 W% A2 T' \9 t2 L9 S/ h1 I" M. ?7 M. H
滑移齿轮及与滑移齿轮相啮合的齿轮,换句话说就是换挡齿轮的轮齿主动(先接触)结合边要倒角。
发表于 2011-10-8 22:33:59 | 显示全部楼层 来自: 中国江苏常州
主被动都要倒角.
 楼主| 发表于 2011-10-8 22:47:23 | 显示全部楼层 来自: 中国四川资阳
本帖最后由 liqiangproe 于 2011-10-8 22:49 编辑
( P1 z0 c% r( }
0 @/ _- S' v3 d- K1 n谢谢 两位师傅!
' S; m+ T( B1 M; l3 n5 O
2 n; i4 O7 j4 q- @  g做滑移齿轮 轮齿端部 倒角  可以只倒成图1那样 (这样倒角会补会影响齿轮的滑移)& v3 a4 }3 L! Z& X6 O7 g) {

$ `2 o5 v4 R- o4 ~4 ~3 k8 m还是必须要倒成图2那样啊
( S4 u* y" x9 N- d9 ^
& b! r. I6 U( @" g: u3 o学生谢谢了!
01.jpg
02.jpg
发表于 2011-10-8 23:18:00 | 显示全部楼层 来自: 中国广东东莞
谢谢 两位师傅!
0 X. L  {5 D' d7 t; h
' Y& X- R4 L& j2 {8 B做滑移齿轮 轮齿端部 倒角  可以只倒成图1那样 (这样倒角会补会影响齿轮的滑移)
% S- W. K% h0 w6 `+ n2 i, f" l. A3 ~- N* [  p7 c2 U4 ]+ J
还是必须要倒成图2那样啊
2 G) t- \6 X0 J- y5 G3 ~5 x" ], Y" l% v$ l# y/ I, S
学生谢谢了!; N4 ^, U5 Z0 V* Z6 l! B
liqiangproe 发表于 2011-10-8 22:47 http://www.3dportal.cn/discuz/images/common/back.gif

" l* N/ ?) [; Y$ Y9 t/ ~应该做成图2那样才能容易啮合(倒角面作为导向面)。图1 的倒角不行。
 楼主| 发表于 2011-10-9 14:46:09 | 显示全部楼层 来自: 中国四川资阳
谢谢  两位师傅 !
. d+ ^5 \7 ^8 a8 `# d" t7 c1 x& t4 {& t' z' i/ r
学生学习了........
发表于 2011-10-18 20:08:39 | 显示全部楼层 来自: 中国广东东莞
上次我在15楼的答复有误,在此表示歉意。下面的是正确的资料。

齿轮轮齿端倒角.pdf

222.94 KB, 下载次数: 5

发表回复
您需要登录后才可以回帖 登录 | 注册

本版积分规则


Licensed Copyright © 2016-2020 http://www.3dportal.cn/ All Rights Reserved 京 ICP备13008828号

小黑屋|手机版|Archiver|三维网 ( 京ICP备2023026364号-1 )

快速回复 返回顶部 返回列表