QQ登录

只需一步,快速开始

登录 | 注册 | 找回密码

三维网

 找回密码
 注册

QQ登录

只需一步,快速开始

展开

通知     

查看: 2868|回复: 11
收起左侧

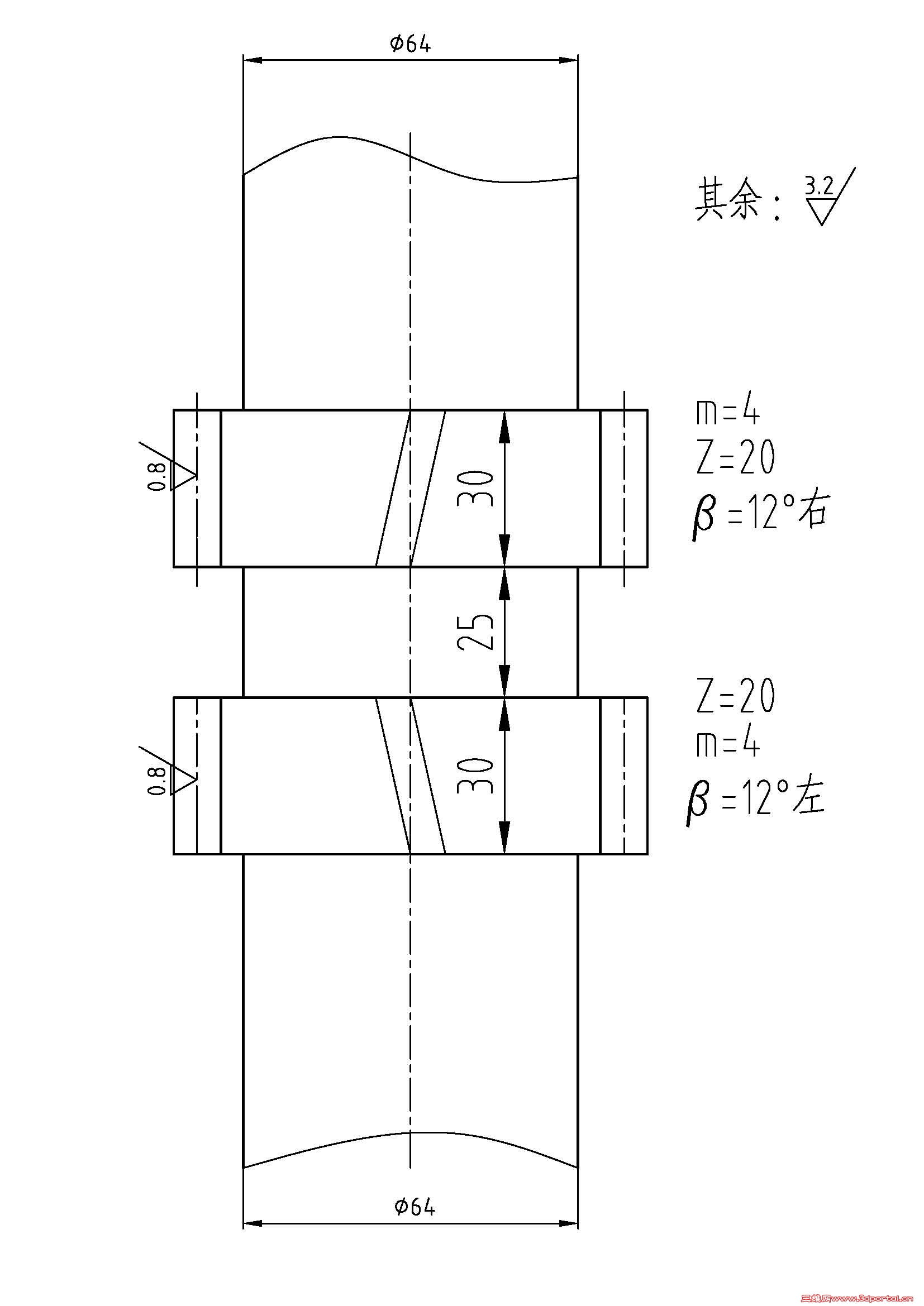
[求助] 这种双齿轮轴可以加工吗?

[复制链接]
发表于 2011-7-5 09:36:40 | 显示全部楼层 |阅读模式 来自: 中国山东东营

马上注册,结识高手,享用更多资源,轻松玩转三维网社区。

您需要 登录 才可以下载或查看,没有帐号?注册

x
请问如图所示的双齿轮轴,可以加工出来吗?用什么方法加工呢?还是需要把其中的一个齿轮改成单个零件后,用键连接呢?谢谢
双齿轮轴.jpg
发表于 2011-7-5 09:56:57 | 显示全部楼层 来自: 中国广东深圳
本帖最后由 天地行008 于 2011-7-5 09:59 编辑
4 T: B! f& l7 z
6 Z3 i/ u- |: \' g( A" p这可以认为是通常意义的人字齿轮,中间25长度就是留给加工机床的空刀槽,精加工可以考虑用梳齿机加工,也可以特制人字齿轮形砂轮利用绗磨得到0.8,1 G  `2 G1 w8 F1 O( m/ x( z
用键连接呢?不知道你的具体设计要求怎么样,不敢妄言,若有活需要干,可以直发短信联系哦

评分

参与人数 1三维币 +3 收起 理由
hero2006 + 3 应助

查看全部评分

 楼主| 发表于 2011-7-5 11:18:20 | 显示全部楼层 来自: 中国山东东营
感谢楼上回复,我就是想知道25的空刀槽够用了是吧?我是怕空刀不够用,才考虑是否要换成键连接的
发表于 2011-7-5 12:06:19 | 显示全部楼层 来自: 中国上海
如果是滚齿加工的话,25宽的退刀槽恐怕不够。
td.jpg

评分

参与人数 1三维币 +3 收起 理由
hero2006 + 3 应助

查看全部评分

 楼主| 发表于 2011-7-5 13:17:48 | 显示全部楼层 来自: 中国山东东营
不用滚齿加工的话,可以采用其他什么加工方式呢?
发表于 2011-7-5 16:16:33 | 显示全部楼层 来自: 中国江苏苏州
不用滚齿加工的话,可以采用其他什么加工方式呢?
4 \# d8 E$ `8 b# v! b, Qphoebehsm 发表于 2011-7-5 13:17 http://www.3dportal.cn/discuz/images/common/back.gif
' s# ~( v, c, E
可用插齿加工,但精度可能不太好。需专用工装或数控插齿机。/ O/ \* D) |/ k1 ?* W$ O( I
加工方法还是看你需要多高的精度。还有人字齿的对中性要求怎么样?
 楼主| 发表于 2011-7-5 16:55:26 | 显示全部楼层 来自: 中国山东东营
可用插齿加工,但精度可能不太好。需专用工装或数控插齿机。. y( J8 _2 z4 r' N" C; M( D
加工方法还是看你需要多高的精度。还有人字齿的对中性要求怎么样?* J( K: _& B$ x1 E5 ~: x+ F
hero2006 发表于 2011-7-5 16:16 http://www.3dportal.cn/discuz/images/common/back.gif

9 L" ]# @) S5 J! d, ~: o
1 V9 ~# I* W3 C' i精度等级 6GJ,齿顶圆尺寸公差为h11,齿部G52,其余T235。
3 D, w; n% H9 ?' R% Z; Z1 W) m4 |2 i2 S3 A0 S
对中性是指什么?图纸上没有特殊要求。
发表于 2011-7-6 09:11:25 | 显示全部楼层 来自: 中国广东深圳
对中性是指:左右两个旋向的两个齿关于退刀槽中线的对称特性,这一对称特性直接影响人字齿轮的工作受力状况和啮合特性
 楼主| 发表于 2011-7-6 09:45:02 | 显示全部楼层 来自: 中国山东东营
对中性是指:左右两个旋向的两个齿关于退刀槽中线的对称特性,这一对称特性直接影响人字齿轮的工作受力状况和啮合特性
8 x$ n8 z, B2 h; p0 J6 E9 @天地行008 发表于 2011-7-6 09:11 http://www.3dportal.cn/discuz/images/common/back.gif
3 G+ O3 R+ W: E7 S

( J5 N- W! \5 u1 Q4 K$ W% U" u哦,这个对中性没有要求。和这个人字齿轮啮合的另外2个齿轮属于2个不同的轴,那两个齿轮与轴的连接是涨紧套连接的。# J- B! G: S( u9 A

) U  z5 \! H9 ~. x$ N: w  r; J* b另外问下,滚齿加工和插齿加工在价格上大概差多少呢?
发表于 2011-7-6 15:47:19 | 显示全部楼层 来自: 中国台湾
採用刨齒機(Gear Shaper)加工
发表于 2011-7-6 16:35:46 | 显示全部楼层 来自: 中国台湾
雖然對機加工比較不了,多吸收,多學習
发表于 2011-7-7 12:16:24 | 显示全部楼层 来自: 中国广东深圳
9# phoebehsm # z% O3 [' R$ \% C
6 F( s  U9 _  a- x: y, `
你这图上这个件,强行用滚齿加工的话,说不定比插齿还贵(一般能同时用滚齿和插齿加工的,制齿工序工时价格差约为30%,滚齿便宜)
发表回复
您需要登录后才可以回帖 登录 | 注册

本版积分规则


Licensed Copyright © 2016-2020 http://www.3dportal.cn/ All Rights Reserved 京 ICP备13008828号

小黑屋|手机版|Archiver|三维网 ( 京ICP备2023026364号-1 )

快速回复 返回顶部 返回列表