|
|

楼主 |
发表于 2011-6-30 08:04:44
|
显示全部楼层
来自: 中国浙江杭州
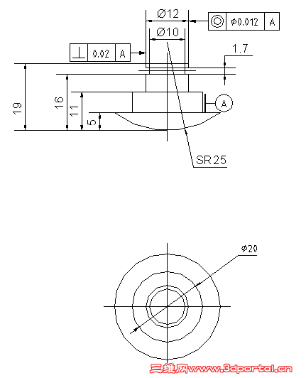
1,20的直径标注,最好放在主视图上,这样看起来很方便。另外,那个俯视图可以去掉,不要了,主视图表达的很清楚了+ P( B: i3 Y$ H6 \" ^
! k' L. R, V6 l) W2 Y
& l5 P) B1 A, H, ~9 Q7 d; X2 g% f- N/ U
2,SR25,表达的很清楚了,行家一看就是个球面,不会产生误解的。# q G$ f$ ~$ d- r: V) [. } S2 P
4 P0 ?% V& e) {1 Q0 U
; b/ g" l1 Q- s4 J0 u
4 c( E7 K7 j# x0 r% E: ^- D: f" x
3,垂直度公差表达 ...
* \& O& M, ~3 R, [1 _) _8 U: Eok22ko 发表于 2011-6-29 20:21 http://3dportal.cn/discuz/images/common/back.gif
. Y- P2 z# V9 D @, ^先谢谢热心的朋友们了,我追问个问题,基准应该找哪个?或者怎么标?垂直度是需要加个直径符号么? |
|