QQ登录

只需一步,快速开始

登录 | 注册 | 找回密码

三维网

 找回密码
 注册

QQ登录

只需一步,快速开始

展开

通知     

全站
7天前
查看: 3127|回复: 24
收起左侧

[已解决] 求此图画法,请各位师傅指点

[复制链接]
发表于 2011-3-5 09:13:17 | 显示全部楼层 |阅读模式 来自: 中国山东青岛

马上注册,结识高手,享用更多资源,轻松玩转三维网社区。

您需要 登录 才可以下载或查看,没有帐号?注册

x
本帖最后由 honglang0913 于 2011-3-5 15:25 编辑 " T7 n5 t& o  [3 U1 ^9 e

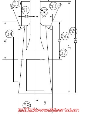
& e( Y1 o- l3 B* a各位老师帮忙看一下,两边的R10怎么切除,麻烦做一下传上来学习下,谢谢啦$ |8 _  I+ S3 n( N. Z# N! L
1.jpg
4 f) H& a" |1 H% g+ o& y6 x, r# y7 o& E( w5 V- R2 d

8 J6 L* Y* z) w- f4 m2 J6 L6 ?
. m! H" C3 c$ I* h* k, ~: q# Q 2.jpg
" u! H: w) l6 x! [! N4 `' y) F9 v' V5 f( s2 P

4 V+ j$ S3 Y  ^+ W4 |- l+ i" F 美国调整臂(中).pdf (219.51 KB, 下载次数: 88)
发表于 2011-3-5 10:28:48 | 显示全部楼层 来自: 中国江苏无锡
看不到图啊
 楼主| 发表于 2011-3-5 13:43:13 | 显示全部楼层 来自: 中国山东青岛
2# yang3269143 " M% n: |: K( w3 G# E3 D  n1 |; i
. e. N) Q2 u* J: ^( |9 A
现在可以了
发表于 2011-3-5 14:22:25 | 显示全部楼层 来自: 中国江苏苏州
这图不全吧  部分看不到
 楼主| 发表于 2011-3-5 14:38:32 | 显示全部楼层 来自: 中国山东青岛
本帖最后由 honglang0913 于 2011-3-5 20:43 编辑 / `8 L2 a1 [9 T- |

8 X1 n2 l, Y: |' o+ \1 D' H4# wuxin520
0 N: N' b8 z8 X( J3 @9 d+ Z) J# f8 j# K3 b2 t2 s: ^7 j& t: P
全图已上传
发表于 2011-3-5 14:50:31 | 显示全部楼层 来自: 中国山东潍坊
本帖最后由 ffda 于 2011-3-5 17:01 编辑 - r7 q5 T, d! ^  X* a3 n) n+ x

7 `- m1 S' x9 Q4 r2 n2 V! y& J你把模型建好,我来给你切!* H) |: j+ q# Z4 Q% I; {
不行,我的图档是加密的,你打不开!
% i" ~: [- t/ K. @0 N这个可以用扫切来做:轮廓草图就是一个R10的圆,路径依图上要求来建!+ w+ y1 m! l% c) M, J! R* x: U) |! A

扫切的效果

扫切的效果

5 J+ e8 C% u. R效果不太理想,两端应该用阿基米德螺线,我用直线代替,就是这个意思吧!
发表于 2011-3-5 14:58:50 | 显示全部楼层 来自: 中国山东济宁
给我个电子版的 我给你画 有电子版 QQ280017815
发表于 2011-3-5 15:12:12 | 显示全部楼层 来自: 中国江苏苏州
用扫描切除做  就OK了
 楼主| 发表于 2011-3-5 15:21:13 | 显示全部楼层 来自: 中国山东青岛
8# wuxin520
; K* F4 _, C# F0 ?我的源文件已经上传了,劳驾您完善下再发上来,谢谢啦
 楼主| 发表于 2011-3-5 19:30:38 | 显示全部楼层 来自: 中国山东青岛
本帖最后由 honglang0913 于 2011-3-5 20:44 编辑 . ^# o; g9 e, f; F& N- E) }/ h
: S, X- A& C7 P- J7 `! r
6# ffda 0 C( s7 }+ [$ A' j, R
效果是不太理想,你看看 3.jpg           4.jpg & y* W. z% w# ~, r! A  P7 O* I
他的两端应该是这个样子的,不是直的,这就是我搞不出来的关键
发表于 2011-3-5 19:41:51 | 显示全部楼层 来自: 中国江苏南京
本帖最后由 wlinyong 于 2011-3-5 21:35 编辑 % W: e/ u+ w3 B' i; H  N3 d

2 F8 J2 }$ E) R/ l唉,我还要多多学习啊!14#太钓人胃口啦
发表于 2011-3-5 20:00:15 | 显示全部楼层 来自: 中国山东东营
这个题目是学习的好东西
 楼主| 发表于 2011-3-5 20:37:18 | 显示全部楼层 来自: 中国山东青岛
本帖最后由 honglang0913 于 2011-3-5 20:44 编辑
8 ^$ A0 \1 A, b: N5 {! A
" a& F  r# J/ _1 X9 E+ ?8 w( Q11# wlinyong . K0 z3 w9 Q4 L5 a( ?! w
没有,原图就是这样的,客户给的,我也没办法,但少的尺寸不影响我们讨论的这个问题吧
发表于 2011-3-5 21:06:52 | 显示全部楼层 来自: 中国北京
本帖最后由 shui321yang 于 2011-3-5 21:16 编辑
! ^4 |2 f+ C. N  O- h% `3 o% g( V+ e( m
给楼主个图吧,应该是这样的! 顺便给你个x-t文件,希望能有所帮助!) {8 ?5 d3 V2 z1 m
无标题.jpg

美国调整臂.rar

37.12 KB, 下载次数: 26

 楼主| 发表于 2011-3-5 21:32:59 | 显示全部楼层 来自: 中国山东青岛
14# shui321yang ) {% Z( s+ r- _# f- K6 J
对,就是这样,谢谢啊,可是你给我的这个没用啊,没有特征,看不出怎么做的,文件还是X_T格式......截图不是solidworks的吗?您就好人做到底,把solidworks的源文件传上来学习下吧。
发表于 2011-3-6 06:49:49 | 显示全部楼层 来自: 中国北京
15# honglang0913
5 R0 J1 B( V- W3 I: [- N
( g( \" Q6 N9 t/ e* q6 n  z你的源文件是老版本,估计你打不开SW2011的,所以给了个X-T的,再给你个SW2011版的,低版本我没有。

美国调整臂.rar

261.32 KB, 下载次数: 65

 楼主| 发表于 2011-3-6 11:37:58 | 显示全部楼层 来自: 中国山东青岛
16# shui321yang
( W) `8 O; B; z这样啊,您可真是与时俱进啊,2011好用吗?对配置的要求是不是比2010还高啊?先谢谢啦,为了这个文件我也要装2011.
发表于 2011-3-6 16:02:42 | 显示全部楼层 来自: 中国广东深圳
可以用变半径圆角。
发表于 2011-3-7 10:34:23 | 显示全部楼层 来自: 中国河北石家庄
16# shui321yang
6 F  D' V7 ?1 ^* Q7 e' u( F真是个老油条啊不仅做出来了还都是奇思妙想佩服佩服!在C-C上54差0.49
 楼主| 发表于 2011-3-7 21:11:59 | 显示全部楼层 来自: 中国山东青岛
19# pproee88 + d2 ^' Z% h6 `) Q; c' ]# Q3 r0 b- M
您有什么妙招?我这2011还没装呢,太麻烦了,还得换回来。
 楼主| 发表于 2011-3-9 20:36:46 | 显示全部楼层 来自: 中国山东青岛
本帖最后由 honglang0913 于 2011-3-9 20:56 编辑
$ Z, k/ @) t1 b& @
) ?; v$ M$ O, z" n8 ~16# shui321yang * Z# N3 r! A3 ?, t; s" c5 ?3 Q
装了双系统,又装了2011,打开了你的文件,学习了一下,终于2010版文件出炉,问题解决了,谢谢大家啦! 美国调整臂.rar (253.73 KB, 下载次数: 19)
发表于 2011-3-10 17:29:27 | 显示全部楼层 来自: 中国江苏常州
我也做了个,2011版的,高手多指教哈
: t, ~# F- l+ t: b, y$ s 美国调整臂.jpg

美国调整臂.rar

248.85 KB, 下载次数: 20

发表于 2011-3-15 23:38:58 | 显示全部楼层 来自: 中国广东东莞
[img][/img]学习了[img][/img]
发表于 2011-3-16 09:33:27 | 显示全部楼层 来自: 中国河北廊坊
高手到处有啊,好好学习一下
 楼主| 发表于 2011-3-19 21:34:42 | 显示全部楼层 来自: 中国山东青岛
22# g381011574
5 Q  t1 ?  U8 e3 A; K  r  \, _7 a
, \1 n5 q5 i  F( [4 l, [3 N$ f下载,谢谢啊。
发表回复
您需要登录后才可以回帖 登录 | 注册

本版积分规则


Licensed Copyright © 2016-2020 http://www.3dportal.cn/ All Rights Reserved 京 ICP备13008828号

小黑屋|手机版|Archiver|三维网 ( 京ICP备2023026364号-1 )

快速回复 返回顶部 返回列表